2015年5月27日,一家營運總部設於美國加州、以Digilock、Celare、Lockup與 Numeris等品牌,在全球各地製造販賣各式鎖具產品的Security People Inc.公司(下稱SPI),向美國加州北區聯邦地院提起專利侵權告訴,控告營運總部設在西班牙、亦以製造販賣各式鎖具產品為主要營業內容之Ojmar S.A.公司的美國分公司Ojmar US, LLC.(下稱Ojmar),其所製造販賣之電子鎖裝置(electronic locking devices)產品,包括但不限於鍵盤式電子鎖產品OSC Touch Lock,直接與誘使侵害了Security People為原始專利權人之一件專利權利。
 
本案系爭專利為美國專利編號US 5,886,644,名稱為「可程式化之數位電子鎖(Programmable digital electronic lock)」,於1999年3月23日核發,發明人為Yucel K. Keskin與Asil T Gokcebay。Security People在訴狀主張,Ojmar被控侵權產品侵害了,包括但不限於系爭專利之請求項1、3、4、5、6、8、9、10、14、15、16、19與21。
 
本案並非Security People首次以Ojmar為被告提起專利侵權告訴。2014年11月10日,SPI向本案相同法院起訴(案號為3:14-cv-04968-HSG),控告Ojmar的電子鎖裝置產品(同樣是以OSC Touch Lock為例)侵害SPI所擁有之US 6,655,180專利權利。Ojmar在2015年4月30日向法院提出聲請,以前述案件系爭專利已向美國專利商標局(USPTO)申請進行多方複審(inter partes review)為由,聲請法院就前述案件裁定停止訴訟程序,而法院在2015年5月29日同意Ojmar之聲請,裁定停止訴訟程序至USPTO決定是否就系爭專利展開多方複審程序。
 
而在本案起訴同日,SPI向本案相同法院提起另一起專利侵權告訴(案號為3:15-cv-02352-EDL),以除了系爭專利編號與系爭請求項外內容幾乎與本案相同的訴狀,控告Ojmar直接與誘使侵害了US 5,894,277專利(’277專利)之請求項1、2、3、4、5、6、7、8、9、11、13、14、15、17、21、22、23、24、25與26。本案’644系爭專利為’277專利在申請時的部分連續申請案(continuation-in-part)。(848字;表2)
 
表一、請求項解析
	
		
			| US 5,886,644 請求項1 | 
		
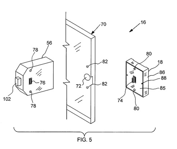
			| 1. In combination with a locker for temporary storage of a user's articles, the locker having a door (FIG. 5 - 70) and a movable latch positioned to secure the door when in latched position and to unlock the door when moved to an unlatched position, an electronic lock (FIG. 5 - 16) for controlling the latch, comprising: 一種電子鎖,其與用於暫時性儲藏使用者物品之儲物櫃結合,該儲物櫃具備櫃門與可活動式門閂,該門閂在鎖住的位置時會閉鎖該櫃門,該電子鎖用來控制該門閂,包括
 | 
		
			| an inner housing (FIG. 5 - 18) and an outer housing (FIG. 5 - 56), the inner housing being secured at the inside of the door and the outer housing being secured at a directly opposed position on the outside of the door such that the door is sandwiched between the two housings, with cordless plug-in connector means affixed to the housings for electrically and modularly connecting the inner housing directly to the outer housing, through an opening in the door (FIG. 5 - 72), the plug-in connector means including opposed sets of electrical contacts, one set fixed to each housing and oriented toward the other set so as to connect together through the opening when the housings are secured to the door, 一內罩與一外罩,該內罩被固定於前述櫃門的內側,而該外罩被固定在前述櫃門方向相對的位置上,如此讓櫃門被夾在兩個罩中間,兩個罩附有無線插入式連接工具 (FIG. 5 – 74 & 76),其用來讓內罩與外罩,透過櫃門上的開口,直接可通電並模組式相連,該插入式連接工具包括相對之電子接點群組,個別群組被附在個別罩上並朝向另一群組,藉以透過櫃門上的開口連接在一起,當兩個罩被固定於櫃門時
 | 
		
			| electronic access means in the outer housing, for receiving an access code input by a user, 位於外罩上的電子開鎖工具,其用來接收由使用中所輸入的開鎖密碼
 | 
		
			| a solenoid in the inner housing, connected to the latch so as to control the position of the latch, 一位於內罩內的螺線管,連接於前述門閂,藉以控制門閂的位置
 | 
		
			| microcontroller means connected between the electronic access means and the solenoid, for causing the solenoid to change the position of the latch when a preselected access code is received by the electronic access means, and 連接於電子開鎖工具與螺線管之間的微控制器工具,其用來在電子開鎖工具接收到預先選擇之開鎖密碼時,致使螺線管改變門閂的位置
 | 
		
			| a battery in one of the housings, connected to supply power to the electronic lock. 位在兩個罩其中之一中的電池,連接來供應電源給前述電子鎖
 | 
		
			|  | 
	
Source: 科技政策研究與資訊中心—科技產業資訊室整理,2015/06
 
表二、專利訴訟案件基本資料:Security People控告Ojmar
	
		
			| 訴訟名稱 | Security People, Inc. v. Ojmar US, LLC | 
		
			| 提告日期 | 2015年5月27日 | 
		
			| 原告 | Security People, Inc. | 
		
			| 被告 | Ojmar US, LLC | 
		
			| 案號 | 5:15-cv-02355-RMW | 
		
			| 訴訟法院 | the U.S. District Court for the Northern District of California | 
		
			| 系爭專利 | US 5,886,644 | 
		
			| 系爭產品 | Ojmar製造販賣與/或進口至美國境內之電子鎖裝置(electronic locking devices)產品,包括但不限於鍵盤式電子鎖產品OSC Touch Lock, http://www.ojmar.com/keypad-lock-ocs-touch-lock/ (最後瀏覽日:2015/06/01)
 | 
		
			| 訴狀下載 |  | 
	
Source: 科技政策研究與資訊中心—科技產業資訊室整理,2015/06
 
 
 
 
 
本網站相關連結:
            
            
                
                
                        
                    
                
            
         
        --------------------------------------------------------------------------------------------------------------------------------------------