隨著行動支付概念在網路服務時代裡成為一種必要性,金融支付之安全自然也是第一考量因素。商機所在也正是專利無形資產轉化成為現金流之機會,隨之而來的專利訴訟是key player的火紅產品的”甜蜜負擔”。
位於美國內達華州一家專利授權公司Verify Smart Corp.,於2015年8月14日在內華達州法院控告蘋果(Apple Inc.),聲稱蘋果iPhone手機通過向使用者設備一次性密碼的驗證系統及方法專利侵犯了Verify Smart持有的技術專利,因此向法院請求行政救濟,要求蘋果停止對iPhone繼續提供、使用、測試並且進行市場行銷。
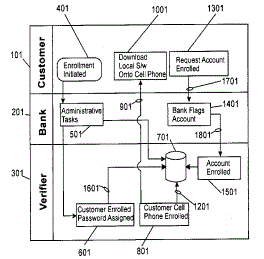
根據Verify Smart Corp.提出訴狀,主張自己擁有系爭專利US8285648 (System and method for verifying a user's identity in electronic transactions),涉及一種向使用者設備一次性密碼進行兩步驗證(two-step verification)之驗證系統及方法專利,本專利獨立發明人Stewart Goodin,原始專利權人Dan Scammell,專利申請日2007年9月14日,同時也將專利移轉給Dan Scammell,後於2015年7月8日再將專利權移轉給Assured Mobile Technologies LLC,再立即將專利權移轉給原告Verify Smart Corp.。由此可見,Verify Smart Corp.是一家專利授權公司。同時,該專利採取PCT國際專利申請策略,已取得美國、日本、南韓、中國、澳洲及歐盟專利。如表一。
廠商的技術服務網頁也成為專利侵權蒐證的來源。Verify Smart公司主張所持有的專利正是關於一台或多台電子設備進行安全碼傳輸驗證的技術,並且引用蘋果在技術支援網頁頁面中的說明,主張專利權受到侵權。Verify Smart引用了蘋果技術支援頁面當中的說明:“設置兩步驗證時,您會註冊一部或多部電信公司設備且由您控制,可以通過iPhone SMS短信或查"Find My iPhone "接收4位驗證碼。您至少需要提供一個支援短信功能的電話號碼。登錄後,您便可以安全地瀏覽帳戶或照常購物。若沒有密碼和驗證碼,您將無法瀏覽帳戶。”如表三。
表三、Apple iPhone之密碼兩步驗證示意圖
從被告公司來看,主要分兩大群:一群是銀行,有:美國銀行及HSBS銀行,另一群是行動終端裝置商,有:蘋果、微軟。詳見表二,可以得知Verify Smart與銀行及微軟訴訟案已主動撤案,推測可能已先取得和解。因為,該專利同時採取PCT國際專利申請策略,已取得美國、日本、南韓、中國、澳洲及歐盟專利,由此可見,該系爭專利對營運公司產品之殺傷力,這也是造成目標被告公司之實質壓力,願意快速和解的主因之一。另外,Verify Smart是否還會進行下一波攻擊,可選擇對象不少,三星、LG、華為……,後續動作值得觀察。(870字;表2)
表一、US8285648系爭專利資料
| Inventors: |
Goodin; Stewart (Coquitlam, CA) |
| Assignee: |
Scammell; Dan (Coquitlam, British Columbia, CA) |
| Appl. No.: |
12/443,426 |
| Filed: |
September 14, 2007 |
| PCT Filed: |
September 14, 2007 |
| PCT No.: |
PCT/CA2007/001639 |
| 371(c)(1),(2),(4) Date: |
March 27, 2009 |
| PCT Pub. No.: |
WO2008/037062 |
| PCT Pub. Date: |
April 03, 2008 |
| drawing |
 |
表二、專利授權公司Verify Smart Corp之相關專利訴訟案件
| 訴訟名稱 |
法院案號 |
訴訟狀態 |
訴訟法院 |
提告日期 |
終止日期 |
系爭專利 |
代理事務所(原告) |
代理事務所(被告) |
代理律師 (原告) |
| VERIFY SMART CORP. v. APPLE INC. |
2:15-cv-06207 |
進行中 |
D.N.J. |
2015-08-14 |
|
8285648 |
Jean-Marc Zimmerman Law Offices |
|
Jean-Marc Zimmerman |
| VERIFY SMART CORP. v. MICROSOFT CORPORATION |
2:15-cv-05596 |
終止 (可能和解) |
D.N.J. |
2015-07-17 |
2015-08-17 |
8285648 |
Jean-Marc Zimmerman Law Offices |
|
Jean-Marc Zimmerman |
| VERIFY SMART CORP. v. BANK OF AMERICA |
2:15-cv-05348 |
進行中 |
D.N.J. |
2015-07-09 |
|
8285648 |
Jean-Marc Zimmerman Law Offices |
|
Jean-Marc Zimmerman |
| VERIFY SMART CORP. v. BANK OF AMERICA CORPORATION et al |
2:14-cv-05117 |
終止 (可能和解) |
D.N.J. |
2014-08-14 |
2015-06-30 |
8285648 |
Jean-Marc Zimmerman Law Offices |
O'Melveny & Myers |
Jean-Marc Zimmerman |
| VERIFY SMART CORP. v. HSBC USA INC. et al |
2:14-cv-03217 |
終止 (可能和解) |
D.N.J. |
2014-05-19 |
2014-08-12 |
8285648 |
Jean-Marc Zimmerman Law Offices |
Greenberg Traurig |
Jean-Marc Zimmerman |
Source: 科技政策研究與資訊中心—科技產業資訊室整理,2015/08
本網站相關連結:
--------------------------------------------------------------------------------------------------------------------------------------------