
圖、大立光之鏡頭相關專利再出擊
大立光電 (Largan Precision Co.,LTD) 於2019年9月 25日向美國東德州地方法院控告惠普 (HP Inc.),先進光電科技(Ability Opto-Electronics Technology Co., Ltd)和新鉅科技(Newmax Technology Co., Ltd),主張被告侵害大立光電所擁有的四件專利:美國專利7274518,8395691,8988796和9146378。
大立光電主張構成侵權的產品是:惠普的15款筆記型電腦產品 (例如:Spectre Folio, HP Pavilion, Envy, Omen, EliteBook, 和 ZBook) 中所使用的鏡頭,依據大立光電的調查,認為相關侵權鏡頭係由先進光電科技和新鉅科技供應。
專利範圍與產品比對
(1)USP# 7274518專利
2006-10-06
2007-09-25, US7274518 B1
1. An optical system comprising four lens elements with refractive power, from the object side to the image side:
a first lens element with positive refractive power having a convex front surface and a concave rear surface, and at least one surface of the first lens element is aspheric;
a second lens element with negative refractive power having a concave rear surface, and the front surface and the rear surface of the second lens element are aspheric;
a third lens element with positive refractive power having a concave front surface and a convex rear surface, and the front surface and the rear surface of the third lens element are aspheric;
a fourth lens element having a convex front surface and a concave rear surface, the front surface and the rear surface of the fourth lens element are aspheric, and at least one inflection point is formed on the rear surface of the fourth lens element;
an aperture stop located between the object side of the optical system and the second lens element, for controlling the brightness of the optical system;
wherein the radius of curvature of a front surface of the second lens element is R3, the Abbe number of the second lens element is V2, and they satisfy the following relations:
−0.02[1/mm]<1/R3<0.22[1/mm]
V2<40
the focal length of the fourth lens element is f4, the focal length of the optical system is f, and they satisfy the following relation:
f/f4<0.1.
1.一種光學系統,包括從物側到像側的具有屈光力的四個透鏡元件:
一第一透鏡,該第一透鏡具有正屈光力,其具有凸的前表面和凹的後表面,並且該第一透鏡的至少一個表面是非球面;
一第二透鏡,該第二透鏡具有負屈光力,該第二透鏡具有凹入的後表面,並且第二透鏡的前表面和後表面是非球面的;
一第三透鏡,該第三透鏡具有正屈光力,該第三透鏡具有凹的前表面和凸的後表面,並且該第三透鏡的前表面和後表面為非球面;
一第四透鏡,該第四透鏡具有凸的前表面和凹的後表面,該第四透鏡的前表面和後表面為非球面,並且在該第四透鏡的後表面上形成至少一個轉折點;
孔徑光閘,位於光學系統的物側與第二透鏡之間,用於控制光學系統的亮度。
其中,第二透鏡的前表面的曲率半徑為R 3,第二透鏡的阿貝數為V 2,它們滿足以下關係:
−0.02 [1 / mm] <1 / R 3 <0.22 [1 / mm]
V2 <40
第四透鏡的焦距為f 4,光學系統的焦距為f,它們滿足以下關係:
f / f 4 <0.1。
(2)USP# 8395691專利
TW99127879申請日2010-08-20
公開日為2012-02-23, US20120044403A1
21. An optical image-capturing lens assembly comprising, in order from an object side to an image side:
a first lens element with positive refractive power having a convex object-side surface;
a second lens element with negative refractive power;
a plastic third lens element, the object-side and image-side surfaces thereof being aspheric; and
a plastic fourth lens element having a concave image-side surface, the object-side and image-side surfaces thereof being aspheric and at least one inflection point being formed on at least one of the object-side and image-side surfaces thereof,
wherein the assembly is further provided with an electronic sensor for image formation of an object, the electronic sensor is disposed at an image plane, a distance on the optical axis between the object-side surface of the first lens element and the electronic sensor is TTL, and they satisfy the following relation:
1.80 mm<TTL<3.20 mm.
2.一種光學圖像捕獲透鏡組件,其從物體側到圖像側依次包括:
具有正屈光力的第一透鏡元件,該第一透鏡元件具有凸的物體側表面;
具有負屈光力的第二透鏡;
塑料第三透鏡元件,其物側和像側表面是非球面;和
一種塑料第四透鏡,其具有凹入的像側表面,其物側和像側表面為非球面,並且至少一個轉折點形成在其物側和像側表面中的至少一個上,
其中,該組件還設置有用於形成物體的圖像的電子傳感器,該電子傳感器設置在圖像平面上,在第一透鏡的物體側表面和電子傳感器之間的光軸上的距離為TTL ,並且它們滿足以下關係:
1.80毫米< TTL < 3.20毫米。
圖一、訴狀檢附HP Spectre Folio所使用鏡頭的電腦斷層掃描圖:'518和'691專利
圖二、'518和 '691專利對應實施例圖示:

(3)USP# 8988796專利
TW102139029A申請日2013-10-29
公開日為2015-03-24, USP 8988796
3. An image capturing lens system comprising, in order from an object side to an image side:
a first lens element having refractive power;
a second lens element with positive refractive power having a convex image-side surface in a paraxial region thereof;
a third lens element with negative refractive power having a concave object-side surface in a paraxial region thereof and a convex image-side surface in a paraxial region thereof; and
a fourth lens element with refractive power having a concave image-side surface in a paraxial region thereof, wherein both of an object-side surface and the image-side surface of the fourth lens element are aspheric, and the image-side surface of the fourth lens element has at least one convex shape in an off-axis region thereof;
wherein the image capturing lens system has a total of four lens elements with refractive power, an axial distance between the object-side surface of the first lens element and the image-side surface of the fourth lens element is Td, half of a maximal field of view of the image capturing lens system is HFOV, a focal length of the image capturing lens system is f, a focal length of the fourth lens element is f4, an f-number of the image capturing lens system is Fno, and the following conditions are satisfied:
0.5 mm<Td<3.2 mm;
1.0 mm<Td/tan(HFOV)<3.75 mm;
|f/f4|<1.20; and
1.40<Fno≦2.25.
3.一種攝像透鏡系統,其從物體側到圖像側依次包括:
具有屈光力的第一透鏡;
具有正屈光力的第二透鏡在其近軸區域具有凸像側表面;
具有負屈光力的第三透鏡在其近軸區域中具有凹的物側面並且在其近軸區域中具有凸的像側面。和
具有屈光力的第四透鏡在其近軸區域中具有凹的像側表面,其中,第四透鏡的物側表面和像側表面均為非球面,並且第四透鏡的像側表面第四透鏡在其離軸區域具有至少一個凸形;
其中,該攝像鏡頭系統總共具有四個具有屈折力的透鏡,第一透鏡的物側表面與第四透鏡的像側表面之間的軸向距離為Td,即最大視場的一半攝像透鏡系統的視場角為HFOV,攝像透鏡系統的焦距為f,第四透鏡的焦距為f4,攝像透鏡系統的f數為Fno,以下滿足條件:
0.5毫米< Td < 3.2毫米;
1.0mm < Td / tan(HFOV)<3.75mm;
| f / f 4 | <1.20; 和
1.40 <Fno≤2.25。
圖三、訴狀檢附HP Pavilion X360所使用鏡頭的電腦斷層掃描圖:’796專利

圖四、'796 專利對應實施例圖示

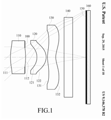
(4)USP# 9146378專利
TW102137700申請日2013-10-18
公開日為2015-04-23, USP US20150108597A1
4. An image capturing lens assembly comprising, in order from an object side to an image side:
a first lens element with positive refractive power having a convex object-side surface and a convex image-side surface, wherein the object-side surface and the image-side surface of the first lens element are aspheric;
a second lens element with positive refractive power having a concave object-side surface and a convex image-side surface, wherein the object-side surface and the image-side surface of the second lens element are aspheric; and
a third lens element with negative refractive power having a concave image-side surface in a paraxial region thereof, wherein the image-side surface of the third lens element has at least one convex shape in an off-axis region thereof, and an object-side surface and the image-side surface of the third lens element are aspheric;
wherein the image capturing lens assembly has a total of three lens elements with refractive power and further includes a stop disposed between the first lens element and the second lens element, a focal length of the image capturing lens assembly is f, a focal length of the second lens element is f2, a focal length of the third lens element is f3, an axial distance between the stop and the image-side surface of the third lens element is SD, an axial distance between the object-side surface of the first lens element and the image-side surface of the third lens element is TD, a central thickness of the first lens element is CT1, a central thickness of the second lens element is CT2, an entrance pupil diameter of the image capturing lens assembly is EPD, and the following conditions are satisfied:
−3.0<f2/f3<0;
0.58<SD/TD<0.82;
0.20<CT2/CT1<0.85; and
1.20<f/EPD<2.80.
4.一種攝像透鏡組件,其從物體側到圖像側依次包括:
具有正屈光力的第一透鏡,其具有凸的物側面和凸的像側面,其中,第一透鏡的物側面和像側面為非球面;
具有正屈光力的第二透鏡,其具有凹的物側面和凸的像側面,其中,該第二透鏡的物側面和像側面為非球面。和
具有負屈光力的第三透鏡在其近軸區域具有像側凹面,其中,第三透鏡的像側表面在離軸區域具有至少一個凸形,並且第三透鏡的物側面和像側面為非球面。
其中,該攝像鏡頭組件總共具有三個具有屈光力的透鏡,還包括位於第一透鏡和第二透鏡之間的光閘,該攝像透鏡組件的焦距為f,該焦距為第二透鏡為f2,第三透鏡的焦距為f3,光閘與第三透鏡像側表面之間的軸向距離為SD,第一透鏡物側表面之間的軸向距離透鏡和第三透鏡的像側表面是TD,第一透鏡的中心厚度是CT1,第二透鏡的中心厚度是CT2,攝像透鏡組件的入射光瞳直徑是EPD,並且滿足以下條件:
−3.0 <f 2 / f 3 <0;
0.58 <SD / TD < 0.82;
0.20 <CT 2 / CT 1 <0.85; 和
1.20 <f / EPD < 2.80。
圖五、訴狀檢附HP Pavilion X360所使用鏡頭的電腦斷層掃描圖:’378專利

圖六、'378專利對應實施例圖示

訴狀之中,值得觀察重點
(1)推測大立光電的訴訟策略,先從台灣開始,告贏後再打國際戰。大立光電可能嘗試建立訴訟主軸theme,努力使法官陪審團建立 “被告曾經剽竊原告智慧財產權” 的先入為主印象;故於訴狀17~19段,大立光電刻意揭露與先進光電科技雙方先前在台灣法院進行的民事刑事訴訟;例如:2017年12月,因為先進光電科技不當取得大立光電的商業機密,台灣知識產權法院裁定先進光電科技應賠償大立光電15.2億新台幣(約合五千萬美元),國際媒體報導該判決是有史以來台灣法院針對商業機密相關作出的最大賠償金額;另外台中地檢署檢察官已經提起公訴,目前刑事案件審理中。
(2)大立光電透過不同途徑,嘗試主張較早的侵權通知日notice of infringement date,以便能請求更長期間的損害賠償past damage,如此盡可能多涵蓋自提起US專利訴訟日起回溯6年期間內,被告相關侵權產品的損害賠償責任:
(i) 侵權通知信函日期:2013年8月曾經發函給HP和先進光電科技,告知侵害 ‘691專利;2019 年3~4月先發侵權通知信函給HP告知多項產品鏡頭侵權,2019年5月再發函給先進光電科技;另外於2019年8月發函給新鉅科技。
(ii) 產品專利標示日期:從 2012年1月開始於產品標示 '518專利號碼;從 2013年3月開始於產品標示 ‘691專利號碼。
(iii) 專利申請案引用關係日期:先進光電科技的9097860號US專利曾經收到美國專利商標局2015年8月4日發出的核駁通知,其中曾引用 ‘691專利為核駁前案證據。另外,先進光電科技的9729771號US專利曾經收到美國專利商標局2016年11月4日發出的核駁通知,其中曾引用 ’378專利為核駁前案證據。而新鉅科技的10007096號US專利曾經收到美國專利商標局2017年6月28日發出的核駁通知,其中曾引用’691專利為核駁前案證據。
(3)如訴狀34~35段所述,大立光電除了發出侵權通知信函給HP外,稍後還要求HP確認已經被找到的HP產品中所使用的先進光電科技鏡頭型號,以及其他已經被找到的HP產品中使用多個鏡頭的其他鏡頭供應商資訊;大立光電如此強勢對潛在可能客戶主張專利權,顯見其貫徹智慧財產權保護的決心。(2407字;圖1)
--------------------------------------------------------------------------------------------------------------------------------------------