| 多方複審案號 |
複審的專
利號碼 |
提出複
審日期 |
複審結
束日期 |
複審請求人 |
專利權人 |
複審結果 |
| IPR2018-01521 |
9126119 |
2018/8/30 |
2020/3/10 |
Nintendo |
Gamevice |
Final Written Decision:
依據Schoenith和Park兩項前案證據,認為'119專利請求項1, 3–10, 13–21顯而易見而無效。 |
| IPR2018-01522 |
9126119 |
2018/8/30 |
2020/3/10 |
Nintendo |
Gamevice |
Final Written Decision:
依據Willner和Park兩項前案證據,認為'119專利請求項1, 3–10, 13–21顯而易見而無效。 |
被告任天堂檢索所得先前技術 - Schoenith、Willner和Park前案
針對任天堂所提起的兩件多方複審程序,審查委員據以撤銷Gamevice訴訟主張 '119專利的三件先前技術代表圖與簡要敘述整理於下:
(1) Willner US20010045938A1前案揭露:
甲、結構橋(structural bridge)係對應到結合座210,結合座210設置在一對控制模組102、104之間;結合座210開口212具有開口底面,兩相對側面和前方橫梁。當電腦裝置10被收納在開口212中時,開口212係包覆電腦裝置10的四個側面。
乙、一對限制結構(confinement structures)係對應到結合座210開口212內面,亦即此對限制結構(開口212內面)是結構橋(結合座210)的一部分。
丙、兩個控制單元102、104分別具有連接器178、180而可和結合座210連結,使得控制單元102、104可透過結合座210內的導線而和電腦裝置10做電訊號連接。
| 前案名稱 |
專利號碼 |
代表圖示 |
| Willner |
US20010045938A1 |
  |
(2) Park KR20110116892A前案揭露:在一對控制模組10、20之間的結構橋30、40係可伸縮調整長度,並可藉由棘齒固定於調整後的長度。
| 前案名稱 |
專利號碼 |
代表圖示 |
| Park |
KR20110116892A |
  |
(3) Schoenith US9539507前案揭露:
甲、結構橋(structural bridge)係對應到結合座20,結合座20設置在一對控制模組3、4之間;結合座20具有凹陷部分與多個突出擋牆。當電腦裝置10被收納在凹陷部分中時,延伸在左右側與底面的突出擋牆24係抵接在電腦裝置10的側面,進而固定電腦裝置10位置。
乙、一對限制結構(confinement structures)係對應到結合座20上的突出擋牆24,此對限制結構(突出擋牆24)是結構橋(結合座20)的一部分。
丙、此對控制模組3、4可包括藍芽訊號輸模組與電源連接器,使電腦裝置10與控制模組間透過電線供應電能,或透過無線傳輸交換電訊號。
| 前案名稱 |
專利號碼 |
代表圖示 |
| Schoenith |
US9539507 |
  |
Gamevice較晚US10391393專利與被無效US9126119專利兩者範圍比較
於第二次ITC訴訟中,Gamevice所主張的 '393專利的申請日係為2017年12月29日,稍後於2019年8月核准。如圖一所示,'393專利算是上述被多方複審程序判定無效 US9126119專利的第5代子延續申請案。
圖一、 '393專利是 '119專利的第5代子延續申請案
於 '393專利審查過程中,Gamevice採取下列動作,藉以降低上述Willner、Schoenith和Park先前技術對 '939專利的威脅殺傷力,提高 '939專利能維持專利有效性的機率:
(1) 如圖二所示,把多方複審程序中所得知的Willner、Schoenith和Park先前技術呈報給美國專利商標局,明確列為 '939專利審查過程中,專利審查委員已考慮過的前案證據;如此若任天堂還想要依據相同的Willner、Schoenith和Park先前技術攻擊 '939專利無效時,則PTAB或陪審團需評估是否要推翻專利審查委員考慮過相同前案後仍核准專利的專業判斷,可能會比較保守。
圖二、 Willner、Schoenith和Park先前技術是 '393專利審查過程中已考慮過的前案
(2) 修改專利範圍,把(i)'393專利申請案文字描述或圖示已經揭露、(ii)Willner、Schoenith和Park先前技術文獻未揭露、且(iii)任天堂Switch產品有實施相關結構的限制條件增加到獨立項專利範圍中。如此增加 '393專利範圍和上述3件先前技術的差異而提高有效性,且又仍能主張任天堂Switch產品構成侵權。如圖三所示,係以word應用程式比對 '119專利與 '393專利第一項專利範圍間的增刪內容。
圖三、相較於 '119專利 claim 1,'393專利claim 1增刪內容
上述'393專利核准專利範圍第一項中文翻譯,並將限制條件切割註記 *1、*2、*3如下:
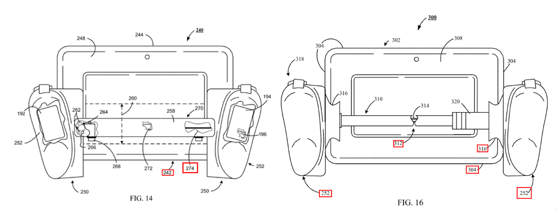
1. 一種組合,包括:
一電腦裝置(302);
一對限制結構(316),該對限制結構與該電腦裝置交互作用,並鄰接電腦裝置的至少兩個相對側面,但不超過電腦裝置三個側面,該對限制結構中的每個限制結構包括一通信鏈路(312),每個通信鏈路被設置為可與該電腦裝置進行電子通信*1;
一剛性結構橋(258),該剛性結構橋設置在該對限制結構之間,並固定到該對限制結構,該剛性結構橋具有一通道(274)位在該對限制結構之間,該通道有助於該對限制結構中的第一限制結構的通信鏈路與該電腦裝置之間的電氣通信,該通道也有助於該對限制結構中的第二限制結構的通信鏈路與該電腦裝置之間的電氣通信*2;
一對遊戲控制模組(252),該對遊戲控制模組中的每個遊戲控制模組固定到該對限制結構中的對應限制結構並與之交互作用,每個遊戲控制模組與對應的限制結構的通信鏈路進行電氣通信,
其中每個遊戲控制模組與相對應的限制結構係為不同的獨立結構,每個遊戲控制模組不形成其對應限制結構的結構部分,並且該對限制結構中的每個限制結構分別是與結構橋分開的不同結構,每個限制結構不構成該結構橋的部分結構*3。
圖四、 '393專利claim 1相關實施利圖示
分析上述專利範圍修改新增的限制條件,可理解都是為了要更具體描述 '393專利實施例技術內容和Willner、Schoenith和Park先前技術的結構差異,作為說服審查委員核准專利的可專利特徵,並為將來收到以類似先前技術證據的多方複審攻擊時,預作抗辯準備。嘗試簡要比對 *1、*2、*3限制條件與三件先前技術可能差異點如下:
| '393專利claim 1部分限制條件 |
Willner 先前技術 |
Schoenith 先前技術 |
Park 先前技術 |
| *1限制:該對限制結構...鄰接電腦裝置的至少兩個相對側面,但不超過電腦裝置三個側面... 每個限制結構包括一通信鏈路… |
開口 212 具有前方橫梁,開口 212 (限制結構)包覆電腦裝置10的四個側面。 |
突出擋牆 24(限制結構)上沒有通信鏈路 |
僅單邊遊戲控制模組抵接側面(可能的限制結構)有通信鏈路 |
| *2 限制:該剛性結構橋具有一通道... 該通道有助於該對限制結構中的第一限制結構的通信鏈路與該電腦裝置之間的電氣通信 |
剛性結構橋
未清楚揭露 "有助於電氣通信" 的通道 |
剛性結構橋
未揭露 "有助於電氣通信" 的通道 |
可升縮結構橋
未揭露 "有助於電氣通信" 的通道 |
| *3 限制:每個遊戲控制模組與相對應的限制結構係為不同的獨立結構,每個遊戲控制模組不形成其對應限制結構的結構部分,並且該對限制結構中的每個限制結構分別是與結構橋分開的不同結構,每個限制結構不構成該結構橋的部分結構 |
每個限制結構與結構橋係單一結構 |
每個限制結構與結構橋係單一結構 |
限制結構與相對應的遊戲控制模組似乎為單一結構 |
另一方面,經過上述精心構思修改過的US10391393專利範圍仍然要能涵蓋任天堂Switch產品,參考Gamevice第二次ITC訴訟訴狀complaint-3444附件5侵權比對表[參考5],摘要節錄下列圖示說明Gamevice如何主張任天堂Switch產品侵害 '939專利claim 1。



結語
(1) Gamevice重金投資此美國專利家族申請案,自該專利家族最早母案申請日起算6年半的時間內,至少提出8件延續申請案,分別依據不同時期的延續案核准專利來提起三次專利侵權訴訟。Gamevice透過持續維持至少一件專利延續申請案實務作法,保留持續修改專利範圍的機會,期望越晚核准的專範圍(a)能更有效地抵禦更多先前技術的無效攻擊而維持有效性;且(b)能更加接近被告侵權產品,易於舉證侵害專利。
(2) 若廠商經費允許,或可採取類似Gamevice專利申請實務作法,對於評估高度重要性,預期同業廠商稍後將推出競爭產品的專利申請案,可在母案提出申請後的一定年限內維持一件美國專利申請案於審查狀態中;等到同業廠商競爭產品上市後,再調整審查中美國專利申請案的專利範圍去接近同業廠商競爭產品。
(3) 相對地,若廠商或學校單位的專利申請經費較為拮据,所編列的專利申請經費不足以支持提出多次美國專利延續申請案費用的實務作法。可能替代補強作法是:在美國專利核准滿1.5年時召開內部評審會議,依據最新市場產品趨勢,評估是否要針對已核准的美國專利進行再發證(reissue)程序,在不超出原說明書揭露技術內容範圍,來擴大專利範圍以接近稍後對新發現的市場產品。
(4) 在先前技術密集,或產品實施細節具有眾多可替代方案的技術領域,單憑一件母案申請案,就要預測未來數年的市場產品趨勢變化或被告檢索所可能得到的先前技術,精確地撰寫出(a)能主張被告產品侵權且(b)能抵禦被告檢索所得先前技術無效攻擊的專利範圍,挑戰性會比較高。 (5020字;圖1)
參考資料:
[參考1] Nintendo Escapes Vice Grip in ITC Challenge, Jan. 9, 2020, Patent Arcade
[參考2] Petitions and Complaints, USITC
[參考3] Gamevice 為原告的相關訴訟, Unified Patents
[參考4] Gamevice 專利相關的多方複審程序, Unified Patents
[參考5] ITC complaint-3444 Exhibit 5 – Infringement Claim Chart for the Asserted Independent Claims of U.S. Patent No. 10,391,393
相關文章:
1. 手持式遊戲機專利訴訟Gamevice控告任天堂Switch侵權
2. 神盾於無效請求程序中主張先前銷售產品為前案證據,成功撤銷指紋辨識相關專利
3. Longhorn控告仁寶與微星的電腦及伺服器產品侵害專利
4. Sonos控告谷歌音訊播放產品侵權
5. 任天堂Switch打造掌上型兼桌上型之遊戲機