| US 6,250,774 請求項1 |
US 6,561,690 請求項1 |
1. A luminaire (Fig.2 - 1) comprising
一項照明器具包括 |
1. A luminaire comprising
一項照明器具包括 |
a housing (Fig.2 - 10) with a light emission window (11), at least one lighting module in said housing (Fig.2 - 2) for illuminating an object outside said housing,
一具備釋放光線窗口之外殼,至少在前述外殼中有一發光模組用來為前述外殼外之物件提供照明 |
a housing (Fig.1 - 1) which defines an internal space containing at least one light source formed by a light-emitting diode (LED) (Fig.1 - 2) and optical means (Fig.1 - 4) for guiding the light emitted by the LED towards outside of the housing, characterized in that the LED is mounted to a support (Fig.1 - 3) connected to the housing,
一個框出內部空間之外殼,其中包括至少一個由LED所構成之光源、以及光學工具來導引前述LED光源所發射光線朝向外殼外釋放,而前述LED是架設在連接於前述外殼的一個支架上 |
the lighting module comprising a set of lighting units (Fig.2 - 20), each lighting unit comprising at least one LED chip (Fig.2 - 30) and an optical system (Fig.2 - 40) cooperating therewith,
前述發光模組由一組發光元件組成,每個發光元件由至少一個LED晶片以及與之連動的光學系統 |
and the optical means is held between a retaining element (Fig.1 - 10) connected to the housing and the support for the LED by pressure exerted by the retaining element and the support for the LED,
前述光學工具在連接於前述外殼之固定元件以及架設有LED之支架中間、藉由固定元件與支架所施加之壓力來支撐, |
the lighting units illuminating portions of the object during operation, each said LED chip supplying a luminous flux of at least 5 lm during operation.
前述發光元件在運作時為前述物件之部分區塊提供照明,每個前述LED晶片在運作時提供至少5流明的亮度 |
wherein the optical means has first and second ends, the first end being proximate the support connected to the housing and the second end being proximate the retaining element.
前述光學工具具備第一端與第二段,第一端貼近前述與外殼連接的外殼,第二端貼近前述固定元件 |
 |
 |
| US 6,788,011 請求項1 |
US 7,038,399 請求項1 |
1. An illumination apparatus (Fig.1 - 100), comprising:
一項照明裝置,包括 |
1. An illumination apparatus (Fig.7 – 200B), comprising:
一個照明裝置,包括 |
at least one first LED (Fig.1 - 120) adapted to output at least first radiation having a first spectrum; at least one second LED (Fig.1 - 140) adapted to output second radiation having a second spectrum different than the first spectrum;
至少第一個LED被調整來釋放出至少具備第一種光譜之第一種光線;至少第二個LED被調整來釋放出至少具備與第一種光譜之第二種光譜的第二種光線 |
at least one LED(Fig.7 – 104A, 104B & 104C); and at least one controller (Fig.7 – 204B)coupled to the at least one LED and configured to receive a power-related signal (Fig.7 – 122)from an alternating current (A.C.) power source (Fig.7 – 124) that provides signals other than a standard A.C. line voltage,
至少一個LED;以及至少一個耦合於前述LED之控制器,其被配置來從可提供不同於標準交流電壓之訊號的交流電源接收電源相關訊號 |
and at least one controller coupled to the at least one first LED and the at least one second LED and configured to respond to user operation of at least one user interface in communication with the at least one controller,
至少一個耦合於第一個LED與第二個LED的控制器(Fig.1 - 110),其被配置來回應、透過至少一個與控制器通訊之使用者介面所進行之使用者操作 |
the at least one controller further configured to provide power to the at least one LED based on the power-related signal,
前述控制器進一步被配置來基於前述電源相關訊號提供電源給前述LED |
the at least one controller further configured to independently control at least a first intensity of the first radiation and a second intensity of the second radiation in response to the user operation,
前述控制器進一步被配置來、回應使用者操作並獨立控制第一種光線的強度以及第二種光線的強度 |
wherein the A.C. power source is an A.C. dimmer circuit(Fig.7 – 108), and wherein the A.C. dimmer circuit is controlled by a user interface to vary the power-related signal,
前述交流電源是一項交流電調光電路,而前述交流電調光電路是由一用於變化不同電源相關訊號使用者介面所控制 |
wherein the at least one controller is configured to implement a pulse width modulation (PWM) technique to control at least the first intensity of the first radiation and the second intensity of the second radiation.
前述控制器被配置來執行脈衝寬度調變(PWM)技術來控制第一種光線的強度以及第二種光線的強度 |
and wherein the at least one controller is configured to provide an essentially non-varying power to the at least one LED over a significant range of operation of the user interface.
前述控制器被配置來,在使用者介面不同操作之範圍內,提供基本不變之電源給前述LED |
 |
 |
| US 7,161,311 請求項1 |
US 7,262,559 請求項1 |
1. An apparatus (Fig.10 - 5000), comprising:
一項裝置包括 |
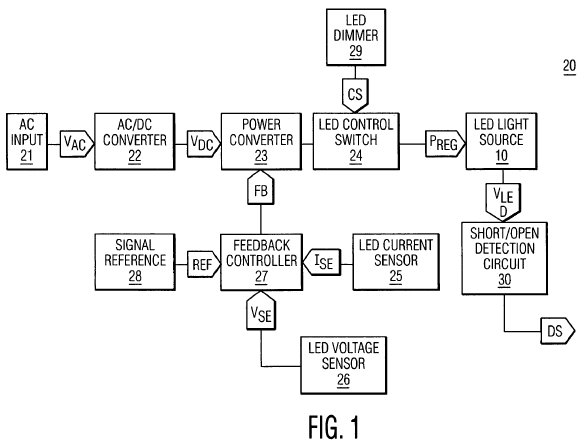
1. A power supply (Fig.1 - 20) for an LED light source (Fig.1 - 10), said power supply comprising:
一項LED光源之電源供應裝置,前述電源供應裝置包括 |
a plurality of first LEDs (Fig.10 - 120), each first LED configured to generate first radiation having a first spectrum; a plurality of second LEDs (Fig.10 - 140), each second LED configured to generate second radiation having a second spectrum different than the first spectrum;
複數個第一種LED,每個第一個LED被配置來產生具備第一種光譜之第一種光線;複數個第二種LED,每個第二個LED被配置來產生具備與第一種光譜不同之第二種光譜的第一種光線 |
a power converter (Fig.1 - 23) operable to provide a regulated power including a LED current and a LED voltage;
一項電源轉換器,可運作來提供穩定電源,包括LED電流與LED電壓 |
a diffuser to blend the first radiation and the second radiation, when generated, so as to provide a uniform color of light having a visible spectrum based on a combination of the first spectrum and the second spectrum;
一個散光器,用來混合第一種光線與第二種光線,並基於結合第一種光線與第二種光線來提供具備可見光譜之單一顏色光線 |
a LED control switch (Fig.1 - 24) operable to control a flow of the LED current through the LED light source wherein said LED control switch is further operable to clamp a peak of the LED current during an initial loading stage of the LED light source;
一項LED控制開關,可運作來控制LED電流通過LED光源,前述LED控制開關進一步可運作來在LED光源初始加載階段就尖峰電流進行鉗位 |
and at least one controller configured to control the first LEDs and the second LEDs based on a square wave signal applied to each LED, such that all visible light provided by the diffuser is perceived only as one or more colors, and not as alphanumeric characters or graphic images,
至少一個控制器被配置來,基於適用之方波訊號控制第一種LED與第二種LED,讓所有被前述散光器所提供之可見光可以被感知為一種多種顏色,且不會被感知為字型或圖像 |
a switch operable to establish a current path from the LED light source to said power converter when the LED current is below the peak threshold, said switch further operable to eradicate the current path when the LED current is above the peak threshold
一項開關可運作來,在LED電流低於尖峰門檻時,建立從LED光源到前述電源轉換器之電流通路,前述開關進一步可運作來,在LED電流高於尖峰門檻時,解除電流通路 |
wherein the apparatus is configured to have a form that resembles a conventional lightbulb.
前述裝置被配置來具備近似傳統燈泡的形式 |
an LED PWM dimmer (Fig.1 - 29) operable to provide a pulse width modulation signal to said LED control switch in response to an external dim command, wherein said pulse width modulation signal has a target pulse width in response to the dim command exceeding a ramp signal, and wherein said pulse width modulation signal has a minimum pulse width in response to the ramp signal exceeding the dim command.
一項LED脈衝寬度調變(PWM)之調光器,可運作來回應外來調光指令,提供一脈衝寬度調變訊號到前述LED控制開關,前述脈衝寬度調變訊號具備一目標脈衝寬度,其在調光指令超過斜波訊號時反應,而前述脈衝寬度調變訊號具備一最小脈衝寬度,其在斜波訊號超過調光指令時反應 |
 |
 |
| US 7,659,673 請求項1 |
1. An apparatus (Fig.19 - 200), comprising:
一項裝置,包括 |
at least one energy transfer element (Fig.19 - 202) to store input energy derived from a power source and to provide output energy to at least one LED(Fig.19 - 100);
至少一項能量轉換元件,用來儲存從一電源所輸入之能量與提供輸出能量給至少一項LED |
at least one switch coupled to the at least one energy transfer element to control at least the input energy stored to the at least one energy transfer element;
至少一項開關耦合於前述能量轉換元件,用來控制儲存於前述能量轉換元件之輸入能量 |
and at least one switch controller (Fig.19 - 204) controlling the at least one switch using a discontinuous mode switching technique to perform multiple switching operations in at least one time period, each switching operation transferring a predetermined quantum of the input energy to the at least one energy transfer element,
至少一項開關控制器,在至少一段時間內使用不連續模轉換技術來踐行多重轉換作業,每個轉換作業輸送一預設定量的輸入能量至前述能量轉換元件中 |
wherein the at least one switch controller comprises a processor to receive at least one control signal representing a desired power to the at least one LED, the processor (Fig.19 - 250) controlling, based on a relative range of the desired power to the at least one LED, the multiple switching operations to vary at least one of:
前述開關控制器包括一處理器,其用來接收至少一個表徵LED所需電源之控制訊號,前述處理器基於前述LED所需電源之相對範圍,控制多重轉換作業並進行至少一項以下變換 |
the predetermined quantum of the input energy for at least two switching operations in the at least one time period; and a number of the multiple switching operations in the at least one time period, so as to provide a controllably variable power to the at least one LED.
在至少一段時間中為至少兩種轉換作業變換預設定量之輸入能量,在至少一段時間中變換數種多重轉換作業,藉以提供LED可控變換電源 |
 |