2012年11月28日,一家以經營電子產品加工買賣業的台灣公司昭泰電子有限公司(Chao Tai Electron Co., Ltd.,下稱昭泰電子),向美國加州中區聯邦地院提起專利侵權告訴,控告美國多家販售家居生活用品之公司,諸如Lowe’s Companies, Inc.(被控侵犯US 7,301,287專利)、Ledup Enterprise, Inc.、The Home Depot, Inc.、Martha Stewart Living Omnimedia, Inc.(以上被告被控侵犯US 8,134,298專利)等,其所製造、輸入、販售或使用的系統與零組件(在訴狀中未明確言明特定產品種類或品項),分別侵犯昭泰電子所擁有、兩項與LED燈串裝置有關的美國專利權利。
本案兩項系爭專利為:
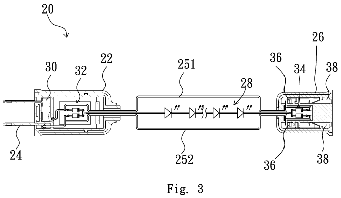
美國專利編號US 7,301,287,名稱為「高功率燈串裝置(High power light string device)」,於2007年11月27日核發,發明人為呂中英(Chong Ying Lu),原始權利人為萬榮電器有限公司(Wang Loong Co., Ltd.),台灣專利編號為M313894;
美國專利編號US 8,134,298,名稱為「裝飾燈串裝置(Decorative light string device)」,於2012年3月13日核發,發明人為楊振聲(Chen-Sheng Yang),原始權利人登記為萬榮電器有限公司,台灣專利編號為M349456,但台灣專利權人則登記為昭泰電子。
昭泰電子在訴狀中所揭露的營業處所是在台灣台北,但公司登記在高雄市前鎮區。除本案系爭專利外,昭泰電子尚擁有US 6,918,692(名稱為「裝飾用光鮮人工植物(Decorative optical fiber artificial plant)」,台灣專利編號為561861,名稱則為「光纖聖誕樹」)、US 7,132,139(名稱為「組裝聖誕樹之結構(Structure of an assembled type christmas tree)」,台灣專利編號為M260203,名稱則為「聖誕樹結構改良」)等美國專利,發明人均為楊振聲。 (736字;表2)
表一、請求項解析
| US 7,301,287 請求項1 |
US 8,134,298 請求項1 |
|
1. A high power light string device comprising:
一種高功率燈串裝置,包括
|
1. A decorative light string device, comprising:
一種裝飾燈串裝置,包括
|
a plug (Fig.3 - 22) having a first plug blade set (Fig.3 - 24) and a first power adaptor (Fig.3 - 32), wherein said first power adaptor is disposed in said plug to convert an AC voltage through said first plug blade set to a high DC voltage;
一第一插頭,具有一第一導電插片組,及內設一第一電源轉換器以將經由該第一導電插片組之一交流電壓轉換成一高直流電壓 |
a power plug (Fig.3 - 22) receiving AC (Alternating Current) power, a tail socket (Fig.3 - 24) coupled to said power plug, and a LED (Light Emitting Diode) string (Fig.3 - 26) with one end thereof coupled to said power plug and another end thereof coupled to said tail socket,
一接收交流電壓的電源插頭與一相耦接的尾插,及一發光二極體串列,其一端耦接該電源插頭,另一端耦接該尾插 |
a tail receptacle (Fig.3 - 26) having a conducting strip set (Fig.3 - 36) and a second power adaptor (Fig.3 - 34) disposed interiorly, said second power adaptor converting said AC voltage through said first plug blade set to a low DC voltage; and
一尾插,內設一導電片組與一第二電源轉換器,其接收經由該第一導電插片組之該交流電壓以將其轉換成一低直流電壓 |
wherein said power plug has a first diode (Fig.3 - 221) and a first charging capacitor (Fig.3 - C1) coupled to said first diode to define a first charging polarity thereacross; and
該電源插頭具有一第一二極體與一相耦接的第一電容器,藉以界定通過電流之第一充電極性 |
at least an LED string (Fig.3 - 28) having a first end and a second end, said first end being connected to said first power adaptor to receive said high DC voltage and said second end being connected to said second power adaptor to receive said low DC voltage so that said LED string is turned on to emit light.
至少一發光二極體串列,其一端連接該第一電源轉換器以接收該高直流電壓,另一端連接該第二電源轉換器以接收該低直流電壓,以使該發光二極體串列導通來發光 |
said tail socket has a second diode (Fig.3 - 241) and a second charging capacitor (Fig.3 - C2) coupled to said second diode to define a second charging polarity opposite said first charging polarity thereacross, each of said first and second diodes having an node and cathode terminals,
該尾插具有一第二二極體與一相耦接的第二電容器,藉以界定與第一充電極性相反的第二充電極性,前述第一二極體與第二二極體有其個別的陰陽極 |
one of said first and second charging capacitors being coupled to said LED strings and the cathode terminal of said diode corresponding thereto, and the other of said first and second charging capacitors being conversely coupled to said LED string and the anode terminal of said diode corresponding thereto, whereby a DC (Direct Current) voltage substantially twice a peak voltage of said AC power voltage, is generated across said LED string; and,
第一電容器與第二電容器其中之一耦接於前述發光二極體串列以及相對應之二極體的陰極,而第一電容器與第二電容器之另外一個、則反向耦接於前述發光二極體串列以及相對應之二極體的陽極,藉此以輸出為前述交流電壓峰值兩倍大小的直流電壓給前述發光二極體串列。 |
wherein said first capacitor, said first diode, said second capacitor, and said second diode are directly coupled to said LED string.
前述第一電容器、前述第一二極體、前述第二電容器與前述第二二極體均直接耦接於前述發光二極體串列 |
|
|
|
Source: 科技政策研究與資訊中心—科技產業資訊室整理,2012/12
表三、專利訴訟案件基本資料:昭泰電子控告Ledup Enterprise等
| 訴訟名稱 |
Chao Tai Electron Co. Ltd. v. Ledup Enterprises Inc et al |
| 提告日期 |
2012年11月28日 |
| 原告 |
Chao Tai Electron Co., Ltd. |
| 被告 |
Ledup Enterprises, Inc.
Lowe’s Companies, Inc.
Home Depot, Inc.
Martha Stewart Living Onmedia, Inc.
與其他(Does 1 through 10, inclusive,意指在現時點部分被告之人別資料尚未被原告所知悉,而原告會在確認後以修改訴狀方式提出) |
| 案號 |
2:12-cv-10137-R-MRW |
| 訴訟法院 |
the U.S. District Court for the Central District of California |
| 系爭專利 |
US 7,301,287
US 8,134,298 |
| 訴狀下載 |
 |
Source: 科技政策研究與資訊中心—科技產業資訊室整理,2012/12
--------------------------------------------------------------------------------------------------------------------------------------------