︿
Top

Nuance 請求 ITC 調查 CooTek 之觸控式輸入法軟體侵犯其多項專利

瀏覽次數:1525| 歡迎推文: facebook twitter wechat Linked

科技產業資訊室 (iKnow) - SYL 發表於 2013年1月2日
facebook twitter wechat twitter

2012 年 12 月 20 日,以開發人機溝通應用程式為主力的軟體公司 Nuance Communications, Inc.( 下稱 Nuance) 向美國國際貿易委員會 (the United States International Trade Commission, ITC) 提告,請求 ITC 調查中國軟體公司 CooTek( 上海漢翔信息技術有限公司, Shanghai HanXiang (CooTek) Information Technology Co., Ltd.) 所開發的觸控式輸入法軟體,例如觸寶 (TouchPal) 輸入法軟體,以及裝設有 CooTek 輸入法軟體、由 Personal Communications Devices, LLC 公司 ( 下稱 PCD) 所製造並輸入美國銷售的智慧型手機產品,例如以 Venture 為品牌名稱的手機產品,侵犯 Nuance 所擁有之 5 項專利權利,進而違反美國關稅法第 337 條 (19 U.S.C. § 1337) 之規定。

本案 5 項系爭專利均為與智慧型手機等行動手持裝置之使用者介面有關之技術,其內容如下 :

•  美國專利編號 US 7,750,891 ,名稱為「立基於追蹤一輸入設備之行動參數的選擇性輸入法系統 (Selective input system based on tracking of motion parameters of an input device) 」,於 2010 年 7 月 6 日核發 , 計有 17 項獨立項與 126 項附屬項, Nuance 在本案中就其附屬項 36 、 47 以及 55 至 57 主張權利;

•  美國專利編號 US 7,453,439 與 US 7,098,896 ,名稱均為「用於進行持續筆畫之文字輸入的系統與方法 (System and method for continuous stroke word-based text input) 」,分別於 2008 年 11 月 18 日與 2006 年 8 月 29 日核發,前者計有 2 項獨立項與 61 項附屬項, Nuance 就其獨立項 1 與 4 、以及附屬項 2 、 3 、 22 、 23 、 24 、 26 主張權利,後者計有 2 項獨立項與 49 項附屬項, Nuance 就其獨立項 1 與 51 、以及附屬項 2 、 3 、 5 至 12 、 17 、 19 至 50 主張權利;

•  美國專利編號 US 7,075,520 ,名稱為「使用多向式按鍵之鍵盤消除按鍵動作之歧義性 (Key press disambiguation using a keypad of multidirectional keys) 」,於 2006 年 7 月 11 日核發,計有 3 項獨立項與 18 項附屬項, Nuance 就其獨立項 1 、 8 、 15 、以及附屬項 9 、 12 至 14 、 19 至 21 主張權利;

•  美國專利編號 US 6,286,064 ,名稱是「縮減鍵盤與同時進行具歧義性與明確之文字輸入的方法 (Reduced keyboard and method for simultaneous ambiguous and unambiguous text input) 」,於 2001 年 9 月 4 日核發,計有 2 項獨立項與 30 項附屬項, Nuance 就其獨立項 1 、以及附屬項 2 至 4 、 22 至 24 、 26 主張權利。

Nuance 除請求 ITC 進行調查外,亦在 2012 年 12 月 17 日向德拉瓦州聯邦地院提起專利侵權告訴,控告 CooTek 與 PCD 侵犯本案相同系爭專利 (Nuance Communications Inc. v. Shanghai Hanxiang (Cootek) Information Technology Co. Ltd. et al , 案號為 1:12-cv-01722-RGA) 。

有關國內產業 (domestic industry) 要件之聲明, Nuance 在其訴狀中指出,其所設計並銷售的 Swype 觸控式鍵盤技術軟體,被裝設於數百萬支於美國境內流通之行動裝置上,包括三星、 Nokia 、 HTC 等所銷售的手機產品,而該軟體之研究開發是在美國境內所進行 。 Nuance 聲稱其所花費之研發費用已達大約 1 億 7940 萬美金。 (1101字;表 2)

表一、系爭專利之請求項解析

US 7,453,439 請求項 1 US 6,286,064 請求項 1
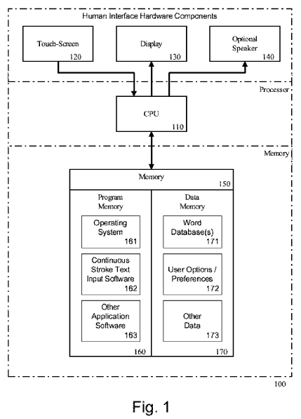
1. An apparatus (Fig.1 - 100) comprising:
一項裝置包括
1. A system for disambiguating ambiguous input sequences entered by a user and for the interpretation and display of unambiguous input sequences entered by the user, the system comprising:
一項用來消除使用者鍵入之曖昧輸入序列的歧義性、並用來解讀並顯示使用者鍵入之明確輸入序列的系統,該系統包括
a device (Fig.1 - 130) for presenting a displayed keyboard, said displayed keyboard includes a set of keys wherein each letter of the alphabet is associated with at least one key;
一個用來呈現被顯示鍵盤的設備,前述被顯示鍵盤包括一組按鍵,其中每個字母與至少一個按鍵相對應
(a) a user input device (Fig.2 - 54) having a plurality of inputs, each of the plurality of inputs associated with a plurality of characters, an input sequence being generated each time an input is selected by manipulating the user input device, wherein the generated input sequence corresponds to the sequence of inputs that have been selected, and wherein the generated input sequence has a textual interpretation that is unambiguous and a textual interpretation that is ambiguous due to the plurality of characters associated with each input;
(a)一使用者輸入設備,其具備複數輸入,其中個別輸入對應複數字元,每次透過操作使用者輸入設備選擇單一輸入時會有一輸入序列被產生,被產生之輸入序列對應已被選擇之輸入的順序,且被產生之輸入序列具備一明確的文義解讀以及一因為單一輸入所對應之複數字元而產生歧義性的文義解讀
an input device (Fig.1 - 120) which detects a trace of an input path on said displayed keyboard, said input path comprising a sequence of input path locations on or near said displayed keyboard;
一個輸入設備,其偵測在前述被顯示鍵盤上一輸入路徑的軌跡,前述輸入路徑由在前述被顯示鍵盤之上或其鄰近的一連串輸入路徑位置所組成
(b) a memory (Fig.2 - 104) containing a plurality of objects, each of the plurality of objects associated with an input sequence;
(b)一記憶體,其包括複數物件,每個物件對應一輸入序列
an output device;
一個輸出設備
(c) a display (Fig.2 - 53) to depict system output to the user; and
(c)一顯示器,用來向使用者描述系統輸出結果
a database (Fig.1 - 171) for storing words; and
一個用來儲存詞彙的資料庫
(d) a processor (Fig.2 - 100) coupled to the user input device, memory and display, the processor:
(d)一處理器,其耦接於使用者輸入設備、記憶體與顯示器,該處理器進行以下動作
a processor (Fig.1 - 110) coupled to the input device, the output device, and the database, the processor comprising:
一個耦接於輸入設備、輸出設備與資料庫的處理器,該處理器包括
(i) processing each generated input sequence as an ambiguous selection of the characters associated with the input sequence to identify from the plurality of objects in memory at least one object associated with each generated input sequence;
(i)處理個別被產生之輸入序列,當該輸入序列對應一具備歧義性之複數字元選擇時,從記憶體中複數物件指出至少一物件,其與個別被產生之輸入序列相對應
a first component for recording input path data corresponding to a trace of an input path on said displayed keyboard, wherein said input path data include an initial path location, a sequence of one or more locations along which said input path continues, and a final path location at which said input path terminates;
第一組件,用來記錄對應在前述被顯示鍵盤上輸入路徑軌跡的輸入路徑資料,前述輸入路徑資料包括起始路徑位置,一連串一或多個伴隨前述輸入路徑延展之位置,以及前述輸入路徑終止之最終路徑位置
a second component for identifying one or more words of a set of words stored in a database, one or more of said set of words associated with an indication of frequency of use, wherein one or more letters of each identified word are each associated with keys that are within a determined threshold distance of one or more determined points on said input path; and
第二組件,用來識別儲存於資料庫中之系列詞彙的一或多個詞彙,前述系列詞彙之一或多個對應於一使用頻率之指示,而每個被識別詞彙之一或多個字母,其個別對應於介在前述輸入路徑上一或多個被界定點間被界定臨界距離中的按鍵
(ii) simultaneously processing each generated input sequence as an unambiguous selection of a specific character associated to identify an unambiguous textual interpretation that is associated with the generated input sequence; and
(ii)同時處理個別被產生之輸入序列,當對應之特定字元被明確選擇時,指出與被產生之輸入序列相對應的明確文義解讀
a third component for comparing said input path with one or more of said identified words, wherein comparing includes comparing a sequence of locations of the keys associated with the letters comprising the spelling of a word with said input path;
第三組件,用來比較前述輸入路徑與前述一或多個被識別詞彙,該比較動作包括將構成一個詞彙拼字之字母、其對應之按鍵連續位置,與前述輸入路徑進行比較
a fourth component for determining a numerical score for one or more of the compared one or more words to establish a relative ranking of the words according to the comparison and the frequency associated with the word.
第四組件,用來依據前述比較與詞彙相應的使用頻率,為被比較之一或多個詞彙決定一分數,以建立該詞彙之相對排序
(iii) generating an output signal causing the display to display at least one of the identified objects associated with the generated input sequence and to simultaneously display the identified unambiguous textual interpretation that is associated with the input sequence.
(iii) 產生一輸出訊號,讓顯示器顯示至少一個與被產生之輸入序列相對應的被指出物件,並同時顯示與輸入序列相對應之明確文義解讀
 pclass_13_A004a.gif
 pclass_13_A004b.gif
US 7,098,896 請求項 1 US 7,075,520 請求項 1
1. A method of inputting alphabetic text to an electronic device (Fig.2B - 2100) having a virtual keyboard (Fig.2B - 2104) on a touch-sensitive screen (Fig.2B - 2012), said virtual keyboard comprising a set of keys wherein each letter of the alphabet is associated with at least one key, the method comprising:
一項輸入拼音文字到一具備虛擬鍵盤與觸控螢幕之電子裝置上的方法,前述虛擬鍵盤由一組按鍵所組成,而拼音文字之每個字母均對應至少一個按鍵,該方法包括
1. A machine comprising:
一項機器包括
recording a contact action on the virtual keyboard , wherein the contact action includes an initial contact location, a path along which contact with the touch-sensitive screen continues, and a final contact location at which contact with the touch-sensitive screen is removed, forming an input stroke pattern (Fig.2B - 2200) according to said recorded contact action;
記錄虛擬鍵盤上的觸碰動作,該觸碰動作包括一起始觸碰位置,一該觸碰動作持續停留在觸控螢幕上的路徑,以及該觸碰動作離開觸控螢幕之最終觸碰位置,並依據前述被記錄之觸碰動作形成一輸入筆畫模式
a processor;
一處理器
comparing said input stroke pattern with a set of words stored in a database;
將前述輸入筆畫模式與儲存在一資料庫中的系列詞彙進行比對
a memory operatively coupled to the processor; and
一記憶體耦接於前述處理器
identifying one or more words stored in the database wherein the first letter of the identified word is associated with a key that is at or near the recorded initial contact location (Fig.2B - 2212), and wherein the last letter of the identified word is associated with a key that is at or near the recorded final contact location (Fig.2B - 2218), and wherein any remaining letters of the word are each associated with keys that are on or near the recorded path of the contact location;
指出一或多個儲存在資料庫中的詞彙,其中被指出詞彙的第一個字母是對應於在被記錄起始觸碰位置上或鄰近的按鍵,而被指出詞彙的最後一個字母是對應於在被記錄最終觸碰位置上或鄰近的按鍵,而該詞彙的其他字母、個別均對應於在被記錄路徑之觸碰位置上或鄰近的按鍵
a data entry module (i) which executes in the processor from the memory and
一資料鍵入模組,(i) 其從記憶體存取出並在處理器上執行
determining relative ranking of the identified one or more words according to the comparison; and
決定依據前述對比所指出一或多個詞彙的相對排序
(ii) which, when executed by the processor, causes the machine to disambiguate among two or more symbols associated with a key of the machine by: detecting a first type of actuation of the key; in response to the detecting of the first type of actuation, displaying a representation of the two or more symbols (Fig.6 - 602); detecting a second type of actuation of the key (Fig.6 - 606); and selecting a selected one of the two or more symbols in accordance with the second type of actuation (Fig.6 - 608).
(ii)在處理器執行時,前述模組讓機器運作來消除機器單一按鍵所相對應之二或多個符號間的歧義性,其是透過以下步驟:偵測按鍵動作之第一種型態;回應所偵測之動作第一種型態,顯示二或多個符號之表徵;偵測按鍵動作之第二種型態;依據動作之第二種型態在前述二或多個符號中選擇一個
offering one or more words of said determined relative ranking (Fig.2B - 2208) to the user for selection of the word to be input as text.
提供前述經相對排序之一或多個詞彙給使用者,讓其選擇詞彙來做為所輸入文字
 pclass_13_A004c.gif
 pclass_13_A004d.gif
US 7,750,891 獨立項 30
30. A process for selectable input based on motion of a pointing device (Fig.1 - 16) in relation to a region (Fig.1 - 14) having a plurality of selectable characters (Fig.1 - 20), the process comprising the steps of:
一項基於點擊設備在具備複數可選擇字元之區域內的動作來進行選擇輸入的方法,該方法包括以下步驟
tracking the motion of the pointing device (Fig.8 - 100) in relation to the region, wherein the tracked motion defines a device path (Fig.8 - 102) comprising at least two selected positions;
追蹤點擊設備在前述區域內的動作,被追蹤之動作界定出一具備至少兩個經擇定位置的設備路徑
determining which of the selected positions along the device path correspond to at least one of the selectable characters (Fig.8 - 114); and
決定設備路徑之經擇定位置中何者是對應於至少一個可選擇之字元
detecting a characteristic motion of the pointing device, the characteristic motion corresponding to at least one of the selected positions along the device path that correspond to at least one of the selectable characters.
偵測出點擊設備之字元動作,該字元動作對應於設備路徑上至少一個經擇定位置,而該經擇定位置對應於至少一個可選擇字元
附屬項 55
55. The process of claim 30, further comprising the steps of: providing a plurality of interfaces comprising a plurality of selected positions within the region; and switching between the interfaces.
請求項 30 所描述方法,進一步包括以下步驟:提供由在前述區域中複數經擇定位置所組成的複數介面;並在複數介面間進行轉換
附屬項 56
56. The process of claim 55, wherein the step of switching between the interfaces comprises a selection by the input device.
請求項 55 所描述的方法,其中介面間轉換動作包括由輸入設備所進行之選擇
附屬項 57
57. The process of claim 55, wherein the step of switching between the interfaces comprises a selection by a supplementary control.
請求項 55 所描述的方法,其中介面間轉換動作包括由輔助控制所進行之選擇
pclass_13_A004e.gifpclass_13_A004f.gif
 

Source: 科技政策研究與資訊中心 — 科技產業資訊室整理, 2013/01

 

表二、 ITC 專利侵權調查案件基本資料

Nuance 控告 CooTek 與 PCD

調查名稱 In the Matter of Certain Balloon Dissection Devices and Products Containing Same
提告日期 2012 年 12 月 20 日
原告 Nuance Communications, Inc.
被告 Shanghai HanXiang (CooTek) Information Technology Co., Ltd
Personal Communications Devices, LLC
案號 Inv. No. 337-TA-864
承審單位 the United States International Trade Commission
系爭專利 US 7,750,891
US 7,453,439
US 7,098,896
US 7,075,520
US 6,286,064
訴狀下載 download.gif

Source: 科技政策研究與資訊中心 — 科技產業資訊室整理, 2013/01


 
歡迎來粉絲團按讚!
--------------------------------------------------------------------------------------------------------------------------------------------
【聲明】
1.科技產業資訊室刊載此文不代表同意其說法或描述,僅為提供更多訊息,也不構成任何投資建議。
2.著作權所有,非經本網站書面授權同意不得將本文以任何形式修改、複製、儲存、傳播或轉載,本中心保留一切法律追訴權利。