美國百年大企業奇異電子的電子照明部門,於2012年12月28日狀告產品行銷於美國的六家企業照明裝置侵權,該案正一併繫訟於聯邦法院俄亥俄州北區分院(Ohio Northern District Court Cleveland Office)審理。本案被告雖分屬不同州別,但因各被告在俄亥俄州內LED燈泡的行銷行為,管轄權因而繫訟於該州。
原告奇異公司照明部門(GE Lighting Solutions, LLC,以下稱GE)為美國知名電子企業奇異公司的子公司之一,本案被告產線多以LED(light-emitting diode)照明設備為主。被告六家公司資訊簡列為下表(以下統稱”各被告公司”):
| 被告公司 |
所在地 |
產品 |
| Technical Consumer Products |
Delaware |
主要產線為市面上常見的螺旋型燈泡及LED燈。 |
| Lights of America, Inc. |
California |
廚房用燈、櫥櫃內用燈、系統家具內配備燈光。 |
| Feit Electric Company |
California |
傳統型燈泡、LED燈泡、螺旋式燈泡、緊急照明燈。 |
| Lighting Science Group |
Delaware |
產品主力為強調高亮度的LED設備。 |
| CRS Electronics |
Canada |
以LED照明設備為主,產品多供應倉庫、飯店、學校、大眾交通工具、航運需求等使用。 |
| MSI, LLC |
Florida |
以美術館、飯店、零售業、餐廳等場所使用的照明設備為主,強調高效能節約省電。 |
原告GE在訴狀中首先強調,該公司成立於1892年,第一個發明白熾電燈泡的發明人湯瑪士愛迪生(Thomas Edison)為該公司的共同發起人之一;以及該公司工程師威廉庫立吉(William Coolidge)所發明的燈泡用可延展鎢絲(ductile tungsten filament),首位發明發光二極體LED(light-emitting diode)之人Nick Holonyak亦為奇異公司員工,強調該公司為照明設備始祖的意味甚濃。
GE主張各被告公司的照明設備(多為LED燈組,被控侵權產品名稱列於表三),透過進口、製造、販賣、邀約販賣、或使用的方式侵害其所擁有的兩項專利,美國專利號 US6,787,999,名稱”發光二極體為基礎之模組燈泡”(LED-based modular lamp)(以下稱999專利)以及US6,799,864,名稱”提供光點照明模組的高功率發光二極體電源”(High power LED power pack for spot module illumination)(以下稱864專利),999專利與864專利的原始專利權人是GELcore, LLC ( GELcore, LLC 或 Lumination, LLC 皆為 GE Lighting 的前身)。本案系爭專利摘要與解析分別如下:
系爭專利: United States Patent No 6,787,999
LED-based modular lamp
申請日期: 2002年10月3日
許可日期: 2004年9月7日
發明人: Tomislav J. Stimac, James T. Petroski, Robert J. Schindler, Greg E. Burkholder
原始受讓人:GELcore, LLC
現行美國專利分類號: 315/51; 362/800
表一、999專利主要請求項解析:
| United States Patent No 6,787,999 |
| Claim 1: |
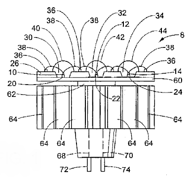
| 1. A lamp comprising: an optical module including (i) a plurality of LEDs including LEDs for emitting light of first, second, and third different colors, and (ii) a heat sink thermally coupled to the LEDs, the heat sink having an electrical conduit for transmitting conditioned electrical power to the LEDs; |
1.一電燈包括:一光學模組包含(i)複數個發光二極體包含若干發光二極體可發出第一種,第二種,和第三種顏色,以及(ii)一熱壑熱耦合於發光二極體上,該熱壑擁有一個電子光導管以傳送調節過之電力到發光二極體; |
| and an electronics module receiving input electrical power and a lighting control signal, the electronics module including an output couple rigidly attaching to the optical module for delivering conditioned electrical power to the electrical conduit, |
一電子模組用以接收輸入之電力及光控制訊號,該電子模組包括一耦合輸出緊固的連結於光學模組以傳送調節過之電力到電子光導管, |
| the electronics module further including electrical conditioning circuitry for selectively electrically coupling the input electrical power to the output coupler based on the lighting control signal to selectively power to the LEDs of the first second and third colors to produce light of a color selected by the lighting control signal. |
該電子模組包含有電子調節電路用來選擇性的電耦合輸入的電力到輸出的耦合器基於光線控制訊號選擇性的充電到第一第二以及第三個顏色以產生由光控制訊號所產生的光色。 |
| Claim 8: |
| 8. A light emitting apparatus comprising: a heat sink having a first side, a second side opposite the first side, and conduit connecting the first side and the second side; |
8.一發光裝置包括:一熱壑擁有第一側邊,第二側邊相對於第一側邊,以及光導管連接第一側邊與第二側邊; |
| a plurality of light emitting diodes disposed at the first side of the heat sink and in thermal communication therewith to heat sink the light emitting diodes; |
複數個發光二極體被配置於熱壑的第一側邊以在熱壑與發光二極體間進行熱交換; |
| and an electronic module disposed at the second side of the heat sink and in thermal communication therewith to heat sink the electronic module, the electronic module converting electrical input power into a conditioned electrical power, the light emitting diodes receiving the conditioned electrical power from the electronic module via the conduit. |
一電子模組被配置於熱壑的第二側邊以在熱壑與電子模組間進行熱交換,該電子模組轉換輸入電力成為調節過之電力,該發光二極體自該電子模組透過光導管接收調節過的電力。 |
|
|
系爭專利: United States Patent No 6,799,864
High power LED power pack for spot module illumination
申請日期: 2002年5月24日
許可日期: 2004年10月5日
發明人:Christopher L. Bohler, Anthony D. Pollard, Greg E. Burkholder, James T. Petroski, Mathew L. Sommers, Robert F. Karlicek, Jr., Stanton E. Weaver, Jr.,Charles A. Becker
原始受讓人: GELcore LLC
現行美國專利分類號:362/236; 257/E25.02; 362/231; 362/294; 362/373; 362/800
表二、864專利主要請求項解析:
| United States Patent No 6,799,864 |
| Claim 1: |
| 1. A light module, comprising: a light emitting diode assembly including a generally planar front side light emitting diode array and a rear side, the rear side in thermal communication with a thermally conductive spreader; |
1. 一光模組,包含:一發光二極體組件包括一個通常為平面的前側發光二極體陣列和一個後側,該後側與熱傳導性散播器進行熱交換; |
| a thermally conductive elongated core having a first end in thermal communication with the conductive spreader, the thermally conductive core being elongated in a direction transverse to the generally planar front side light emitting dode array to define a second end distal from the conductive spreader; |
一個熱傳導延伸核擁有與熱傳導性散播器進行熱交換的第一端,熱傳導核被橫向的延長到通常為平面的前側發光二極體陣列以從傳導性散播器指定第二端末稍; |
| and a plurality of appendages, disposed around the thermally conductive core, the plurality of appendages in thermal communication with the conductive spreader, and extending away from the thermally conductive core. |
複數個附屬配件,被配置於熱傳導核周圍,該複數個附屬配件與熱傳導性散播器進行熱交換,並且自熱傳導核向外延伸出去。 |
| Claim 14: |
| 14. A light emitting diode assembly including a light emitting face supported by a body through which electrical connection elements pass, the body comprising: a thermally conductive elongated core in thermal communication with the light emitting face, the thermally conductive core providing a path for the electrical connection elements to be in electrical communication with light emitting diodes in the light emitting face; |
14.一個發光二極體裝置包括由一電子連接元件所通過的實體所支撐,該實體包括:一個熱導性延伸核與發光表面從事熱交換,該熱導性核提供電子連接元件一個路徑以在發光表面與發光二極體進行電流的交換; |
| and a plurality of thermally conductive elongated attachments surrounding the thermally conductive core, the plurality of attachments being in thermal communication with the light emitting diode assembly. |
以及複數個熱傳導延長附屬物環繞熱傳導核,該複數的附屬物與發光二極體裝置間進行熱交換。 |
|
|
GE除了請求認定被告產品侵權並排除此後的侵害外,並請求法院判予損害賠償金 (damages, under 35 U.S.C. § 284),並認定其為特殊案例准予合理的律師費補償(case exceptional, under 35 U.S.C. § 285)。(1178字,表3)
表三、專利訴訟案件基本資料:GE Lighting Solutions, LLC v. TCP
| 訟案名稱 |
GE Lighting Solutions, LLC v. TCP GE Lighting Solutions, LLCv. Lights of America, Inc.GE Lighting Solutions, LLC v. Feit Electric CompanyGE Lighting Solutions, LLC v. Lighting Science GroupGE Lighting Solutions, LLC v. CRS ElectronicsGE Lighting Solutions, LLC v. MSI, LLC |
| 提告日期 |
2012.12.28 |
| 原告 |
GE Lighting Solutions, LLC |
| 被告 |
Technical Consumer Products, Inc.
Lights of America, Inc.
Feit Electric Company, Inc.
Lighting Science Group Corporation
CRS Electronics, Inc.
MSI, LLC |
| 案號 |
1:2012cv03130(Technical Consumer Products, Inc.)
1:2012cv03131(Lights of America)
1:2012cv03134(Feit)
1:2012cv03132(Lighting Science Group)
1:2012cv03133(CRS)
1:2012cv03136(MSi) |
| 訴訟法院 |
Ohio Northern District Court Cleveland Office |
| 系爭專利 |
US 6,787,999US6,799,864 |
| 系爭產品 |
CRS10-407-110 ICELED PAR20TCPLDA153WH30kLOA2325LEDE12-LF4FeitEFC/DM/LEDLSGDFN19WW120and more…. |
| 訴狀下載 |
 |
Source: 科技政策研究與資訊中心—科技產業資訊室整理,2013/1