2013年1月23日,設於美國華盛頓州的Lightstream, Inc. 以設於康乃狄克州的Atomic Products, LLC. 為被告,在西威斯康辛州聯邦地方法院提起專利侵權之訴,指控被告公司所販售的狗鍊侵害了其擁有,與可安裝之電致發光貼邊技術有關之專利。
原告於訴狀中指出,被告公司在www.visiglo.com網站上所販售可於夜間發光的狗鍊 (dog collars),是按照原告所持有專利的「可安裝之電致發光貼邊技術」(mountable electroluminescent welt) 所製造,從而直接、誘使以及幫助侵害其所擁有的美國專利編號US 7,753,542 (‘543專利),標題為「可安裝之線性光貼邊」(Mountable linear light welt);及設計專利US D457,299 (‘299專利),標題為「電致發光貼邊」(Electro-luminescent welt)之二專利。原告請求法院發放永久禁制令並命被告給付損害賠償金。
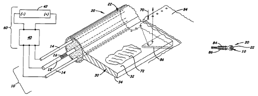
本案系爭專利‘543核准於2010年7月13日,為一可安裝、容易依附在所需表面或節點的貼邊。該貼片包括一個透明或半透明的鞘,圓形或橢圓形的橫截面,與殼體一體形成的橫向延伸的護翼構件。 ‘299專利則核准於2002年5月21日,為一個電致發光的貼邊裝飾設計 (ornamental design for an electro-luminescent welt)。兩專利的發明人皆為Kevin Bruce 及Luis Lorca-Merono。
|
Lightstream Patents
|
| 美國專利編號 |
US 7,753,542 |
US D457299 |
| 專利名稱 |
Mountable linear light welt |
Electro-luminescent welt |
| 發明人 |
Kevin Bruce, Luis Lorca-Merono |
| 現行美國專利分類號 |
362/84 ; 362/223; 362/581 |
D2/977 |
| 國際專利分類號 |
F21V 9/16 (20060101); F21V 5/00 (20060101) |
H05B33/02 20060101 |
| 申請日期 |
2008年9月15日 |
2001年3月12日 |
| 許可日期 |
2010年7月13日 |
2002年5月21日 |

US 7,753,542圖例

D457299 圖例
Lightstream, Inc. 公司由本案發明人Kevin Bruce設立,員工約10~19人,擁有可安裝之電致發光貼邊技術(mountable electroluminescent welt technology)。電致發光是指電流通過物質時或物質處於強電場下發光的現象,在消費品生產中有時被稱為冷光。電致發光物料的例子包括摻雜了銅和銀的硫化鋅和藍色鑽石。目前電致發光的研究方向主要為有機材料的應用。
Atomic Products是以製造電池供電之會發光的配件為主,擁有Atomic Wave、Atomic Pet、及GloGO三個子品牌,產品包括發光的手錶,涼鞋,太陽鏡,鑰匙鏈和寵物用品補光燈。(786字;表2)
表一、專利訴訟案件基本資料:Lightstream, Inc. v. Atomic Products
| 訴訟名稱 |
Lightstream, Inc. v. Atomic Products |
| 提告日期 |
2013年1月23日 |
| 原告 |
Lightstream, Inc. |
| 被告 |
Atomic Products |
| 案號 |
3:2013cv00050 |
| 訴訟法院 |
Wisconsin Western District Court |
| 系爭專利 |
|
| 系爭產品 |
可發光之狗鍊 |
| 訴狀下載 |
 |
--------------------------------------------------------------------------------------------------------------------------------------------