2013年2月22日,以開發應用無線射頻辨識(radio frequency identification, RFID)技術、製造販售RFID產品並特別著重於電子車輛註冊(electronic vehicle registration, EVR)與電子收費(toll collection, Tolling)系統之開發的Neology, Inc.公司(下稱Neology),向美國國際貿易委員會(ITC)提告,請求ITC調查Federal Signal Corporation(下稱FSC)、其子公司Federal Signal Technologies, LLC(下稱FSTech)、其附屬事業部門Sirit Corp.(下稱Sirit)、以及於2012年9月從FSC收購FSTech與Sirit之相關事業資產的3M Company,其所輸入至美國境內販售、符合ISO 18000-6C標準之RFID產品(包括RFID標籤(transponders/tags)、RFID標籤嵌片(inlays)、與RFID讀取器(readers)等)及其組件,直接與間接侵犯了Neology所擁有之3項專利權利,進而違反美國關稅法第337條(19 U.S.C. § 1337)之規定。
本案3項系爭專利內容如下:
- 美國專利編號US 7,081,819與US 7,671,746,名稱均為「用於提供安全辨識解決方案之系統與方法(System and method for providing secure identification solutions)」,分別於2006年7月25日與2010年3月2日核發。前者計有13項請求項,Neology就其獨立項1與2主張權利;後者計有17項請求項,Neology就其獨立項8、9與16、以及附屬項10、11、12、15、17主張權利;
- 美國專利編號US 6,690,264,名稱是「用於射頻辨識之選擇性掩蓋電路及掩蓋RFID標籤之方法(Selective cloaking circuit for use in a radiofrequency identification and method of cloaking RFID tags)」,於2004年2月10日核發,計有24項請求項,Neology就其獨立項1與10、以及附屬項2至9、11至18主張權利。
Neology在其訴狀中指出,被控侵權之產品或用於製造被控侵權產品之組件,是從新加坡、台灣與以色列等國輸入美國境內後組裝成產品或進行流通販售。
Neology除請求ITC進行調查外,也在2011年7月29日向德拉瓦州聯邦地院提起專利侵權告訴,控告FSC、FSTech與Sirit侵犯包括本案3項系爭專利在內的6項專利權利(Neology Inc.v. Federal Signal Corporation et. al.,案號為1:11-cv-00672-LPS-MPT)。而在2012年5月21日,Neology向加州中區聯邦地院提起另一起告訴,控告FSC、FSTech與Sirit侵犯另兩項專利(Neology Inc.v. Federal Signal Corporation et. al.,案號為2:12-cv-04422-JAK-JPR),該案於2012年10月22日被移送管轄至德拉瓦州聯邦地院(案號為1:12-cv-01345-LPS-MPT)並與前案合併審理。
Neology在美國ITC訴狀,對於在國內產業(domestic industry)要件,指出其在美國境內有顯著設施設備投資(在加州設有製造測試RFID標籤產品之工廠)、有顯著勞動僱用、並延續其前身Single Chips Systems Corp.公司而持續投入資源進行與系爭專利相關的技術研發。(1024字;表2)
表一、系爭專利之請求項解析
| US 7,671,746請求項16 |
US 6,690,264請求項1 |
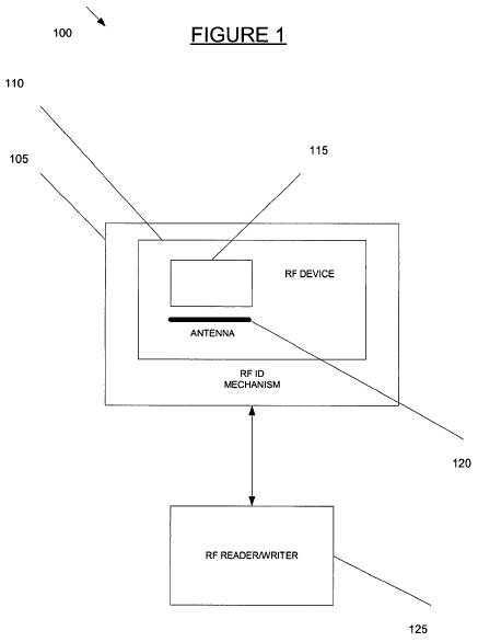
16. A method of verifying information stored in a memory on a chip (Fig.1 - 115), the chip interfaced with an antenna (Fig.1 - 120), the method comprising:
一項驗證被儲存於位在一晶片上之一記憶體中資訊的方法,前述晶片與一天線協作,該方法包括 |
1. An improvement in a cloaked RFID taghaving an antenna comprising:
就具備天線之受掩蓋RFID標籤所為之一項改良,包括 |
granting access to a memory based on a security key;
透過一安全金鑰准許存取一記憶體 |
a switch;
一開關 |
reading first identification information associated with a person, item, product, or vehicle associated with the chip from the memory on the chip via the antenna using a radio frequency reader (Fig.1 - 125); and
使用一射頻讀取器,透過前述天線,從位在前述晶片上之前述記憶體,讀取與帶有前述晶片之人物、物件、產品或車輛相關的第一辨識資訊 |
a logic circuit (Fig.1 - 10) coupled to said switch to selectively allow communication of signals through said antenna during normal operation to allow output of a signal from said RFID tag through said antenna and to disable the output from said RFID during a cloaking period; and
一邏輯電路,其耦合於前述開關並選擇性准許透過前述天線進行信號傳輸,在常態運作期間讓一信號從前述RFID標籤透過前述天線輸出,而在掩蓋期間中斷從前述RFID標籤之輸出 |
comparing the first identification information with second identification information to determine if a match exists.
比對前述第一辨識資訊與第二辨識資訊,藉以決定是否符合 |
a receiving connection to said RFID tag so that command signals are continuously receivable notwithstanding cloaking of said RFID tag.
一設置於前述RFID標籤之接收連接,其讓命令信號可以持續被接收,即使前述RFID標籤受到掩蓋 |
|
|
|
| US 7,081,819請求項1 |
1. A method of verifying information, comprising:
一項驗證資訊的方法,包括 |
granting access to a memory based on a security key;
透過一安全金鑰准許存取一記憶體 |
storing first identification information in the memory on a chip (Fig.1 - 115) with a radio frequency antenna (Fig.1 - 120);
儲存第一辨識資訊於位在一結合射頻天線之晶片上的前述記憶體中 |
incorporating the chip onto a radio frequency identification mechanism (Fig.1 - 105);
整合前述晶片於一無線射頻辨識(RFID)機器上 |
reading first identification information from the memory on the chip with a radio frequency antenna with a radio frequency reader (Fig.1 - 125); and
藉由一射頻讀取器,從位在前述結合射頻天線之晶片上的前述記憶體中讀取第一辨識資訊 |
comparing the first identification information with second identification information to determine if a match exists.
比對前述第一辨識資訊與第二辨識資訊,藉以決定是否符合 |
|
|
Source: 科技政策研究與資訊中心—科技產業資訊室整理,2013/03
表二、ITC專利侵權調查案件基本資料:Neology請求ITC調查FSC
| 訴訟名稱 |
In the Matter of Certain Radio Frequency Identification (“RFID”) Products and Components Thereof |
| 提告日期 |
2013年2月22日 |
| 原告 |
Neology, Inc. |
| 被告 |
Federal Signal Corporation
Federal Signal Technologies, LLC
Sirit Corp.
3M Company |
| 案號 |
Inv. No. 337-TA-___ (ITC尚未決定展開調查)
(recent complaints filed with the USITC, Doc. No. 2941) |
| 訴訟法院 |
the United States International Trade Commission |
| 系爭專利 |
US7,081,819
US 7,671,746
US 6,690,264 |
| 系爭產品 |
Sirit之RFID自動車輛辨識(automatic vehicle Identification, AVI)設備,如:(舉隅)
IDentity5200 High-Performance AVI Reader;
IDentity 5100 High-Performance AVI Reader;
IDentity Windshield Mount Tags;
IDentity Headlamp Mount Tags;
http://www.sirit.com/AVI_Products.asp (最後瀏覽日:2013/02/27) |
| 訴狀下載 |
 |
Source: 科技政策研究與資訊中心—科技產業資訊室整理,2013/03
--------------------------------------------------------------------------------------------------------------------------------------------