|
2013年4月11日,公司所在地均登記於新北市五股區的珍通能源技術股份有限公司(CpuMate, Inc.,下稱珍通)、以及鈤新科技股份有限公司(Golden Sun News Techniques Co., Ltd.,下稱鈤新),基於兩家公司所共有的散熱器熱管組固結構專利US 8,322,403,向美國德州東區聯邦地院提起專利侵權告訴,控告Apple, Inc.的iMac桌上型電腦產品與MacBook Pro筆記型電腦產品,其所使用的散熱裝置侵犯前述專利權利。
珍通以研發散熱專利起家,近年更延伸發展汽車太陽能天窗專利及LED天井燈專利。在2008年1月22日,珍通向美國德州南區聯邦地院提起專利侵權告訴,控告IBM侵犯其US 7,021,368專利權利(案號為4:08-cv-00242),之後IBM積極應訴並提出一件專利US5699853反訴(counterclaim) 珍通,促使該案於2013年1月達成交互授權和解,珍通的散熱裝置專利與IBM的管理信息系統專利以彼此交叉授權的方式,以雙贏局面收場。
此外,珍通亦在2008年4月16日與2011年7月1日,分別向紐澤西州聯邦地院與德州西區聯邦地院提告,控告宏碁(Acer America Corporation與Acer, Inc.,案號為3:08-cv-01865-FLW-TJB)與戴爾(Dell, Inc.,案號為1:11-cv-00554-SS)侵害其專利權利。之後,這些被告也陸續與珍通達成授權以和解收場。
鈤新位於台北縣五股鄉,1998年9月成立,是全方位OEM、ODM、OPM科技製造廠,主要生產高功率CPU散熱模組、自行車零組件、LED照明產品、精密五金加工等產品。
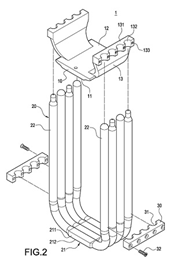
本案系爭專利為美國專利編號US 8,322,403,名稱為「並列式熱管受熱面組固結構及具該結構之散熱器(Fixing assembly for heat-absorbing surfaces of juxtaposed heat pipes and heat sink having the same)」,於2012年12月4日核發,發明人為林國仁(Kuo-Len Lin,珍通總經理)、林貞祥(Chen-HsiangLin)、鄭志鴻(Chih-HungCheng)與許建財(KenHsu),該專利由珍通與鈤新兩家公司共同擁有,專利家族包括台灣專利公告號M372624(公告日為2010年1月11日)。
依據公開之公司登記資料,共同發明人中林國仁與林貞祥在珍通與鈤新兩家公司均擔任董事職位,而兩家公司的董事中有多人重複,可見兩家公司應有相當關係。(828字;表2)
表一、請求項解析
|
US8,322,403請求項1
|
|
1. A fixing assembly for heat-absorbing surfaces of juxtaposed heat pipes, comprising:
一種並列式熱管受熱面組固結構,包括
|
|
a fixing base (Fig.2 & Fig.3 – 10) with its bottom surface (Fig.2 - 11) having a connecting plane(Fig.3 - 110), the fixing base extending upwards from a top surface thereof to form a fixing arm(Fig.2 & Fig.3 – 13), the fixing arm being provided with a plurality of first grooves(Fig.2 – 132);
一固定座,其底面設有一結合平面,該固定座係向上延伸有一固定臂,該固定臂係設有複數第一溝槽
|
|
a plurality of heat pipes (Fig.2 & Fig.3 - 20)each having an evaporating section (Fig.3 - 21), the evaporating section being provided with a contacting plane (Fig.2 - 211) and an adhering plane(Fig.2 & Fig.3 – 212), evaporating sections of the heat pipes being adjacent to each other with respective contacting planes, the evaporating sections being located beneath the fixing base and fixed to the connecting plane of the fixing base, an upper edge of the evaporating section of the heat pipe being received in one of the first grooves of the fixing arm; and
複數熱管,該熱管係具有一蒸發段,該蒸發段係設有一接觸平面及一貼附平面,該等熱管之蒸發段係以該接觸平面而相鄰並列,以固定於該固定座之結合平面,該熱管之蒸發段上緣係容置於該固定臂之第一溝槽中
|
|
a fixing body (Fig.2 & Fig.3 – 30)combined with the fixing arm, the fixing body being provided with a plurality of second grooves(Fig.2 – 31), the second grooves corresponding to the first grooves for cooperatively receiving and clamping upper edges of the evaporating sections of the heat pipes.
一固定體,係結合於該固定臂,該固定體設有複數第二溝槽,該等第二溝槽係與該等第一溝槽相對應,以容置並夾設該等熱管之蒸發段上緣
|
|
 
|
Source: 科技政策研究與資訊中心—科技產業資訊室整理,2013/04
表二、專利訴訟案件基本資料:珍通與鈤新共同控告Apple
|
訴訟名稱
|
CpuMate Inc. et al v. Apple, Inc.
|
|
提告日期
|
2013年4月11日
|
|
原告
|
CpuMate Inc.
Golden Sun News Techniques Co., Ltd.
|
|
被告
|
Apple, Inc.
|
|
案號
|
2:13-cv-00269
|
|
訴訟法院
|
the U.S. District Court for the Eastern District of Texas
|
|
系爭專利
|
US 8,322,403
|
|
系爭產品
|
Apple的iMac桌上型電腦產品,
http://www.apple.com/imac/ (最後瀏覽日:2013/04/23);
Apple的MacBook Pro筆記型電腦產品,
http://www.apple.com/macbook-pro/ (最後瀏覽日:2013/04/23)
|
|
訴狀下載
|

|
Source: 科技政策研究與資訊中心—科技產業資訊室整理,2013/04
|