|
2014年6月17日,總部位於盧森堡的專利主張實體(Patent Assertion Entity, PAE)Enterprise Systems Technologies Sarl (下稱Enterprise)向德拉瓦州聯邦地方法院(Delaware District Court)控告Apple侵權,認為Apple設計、製造與銷售的各類消費性電子產品侵權,包含但不限於智慧型手機、平板電腦、筆記型電腦、電子書、媒體撥放器以及其他具有通訊和計算能力的電子裝置,例如iPhone 5S。
原告Enterprise另於同日向德拉瓦州聯邦地方法院對Audience Inc.(案號1:2014cv00766)、Cirrus Logic Inc. (案號1:2014cv00767)、Qualcomm Incorporated (案號1:2014cv00768)提起侵權訴訟;Enterprise也在同日向東德州聯邦地法院(Texas Eastern District Court)對三星(案號6:2014cv00555)、Amazon(案號6:2014cv00553)、Motorola(案號6:2014cv00554)提告。合計於兩個法院共提起7件侵權訴訟,系爭專利與本案相同或僅有採用部分專利提告,系爭產品也包含各類型的消費性電子產品。
本案系爭專利共有5件,分別是:
- US 6,785,381,專利名稱為「具有改良式免持操作音訊品質之電話與操作方法(Telephone having improved hands free operation audio quality and method of operation thereof)」,於2004年8月31日通過審查並公告,共有17個權利項,其中第1、13項為獨立項,其餘為附屬項。’381號專利重點在於提供使用者在免持聽筒的一定範圍內移動,並可排除背景雜訊、透過語音操作手機。
- US 7,454,201,專利名稱為「透過私有網路與行動基地台提供訊息服務的系統(System for providing message services through a private network and mobile station)」,於2008年11月18日通過審查並公告,共有26個權利項,其中第1、2、3項為獨立項,其餘為附屬項。
- US 6,594,366,專利名稱為「耳機/無線自動感應插孔(Headset/radio auto sensing jack)」,於2003年7月15日通過審查並公告,共有17個權利項,其中第1、8、9、16、17項為獨立項,其餘為附屬項。’366號專利揭露2.5mm的接頭藉由阻抗偵測連接到哪種設備。
- US 6,236,642,專利名稱為「保存網絡資源的裝置及方法(Apparatus and method for network resource preservation)」,於2001年5月22日通過審查並公告,共有19個權利項,其中第1、4、7、10、11、16項為獨立項,其餘為附屬項,技術重點是選擇最低成本的路由傳送封包。
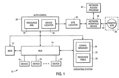
- US 5,870,610,專利名稱為「具有自動下載的自動配置方法和系統(Autoconfigurable method and system having automated downloading)」,技術重點在於可自動下載更新,於1999年2月9通過審查並公告,共有18個權利項,其中第1、9、13、18項為獨立項,其餘為附屬項,但’610號專利將於2016年專利權屆滿。
本案5件系爭專利都在2013年4月11日經由原始專利權人西門子轉讓給Enterprise Technologies S.A.R.L.,再於4月15日轉讓給原告Enterprise,Enterpries當日一共取得45件專利權,這批專利的申請日介於1994~2004年之間,約有1/3的專利權剩不到5年。
Enterprise對諸位被告廠商的系爭專利不盡相同,對Audience一案僅有’381號專利,訴狀中提到Audience提供三星和Apple侵權組件;對Cirrus Logic Inc. 和Qualcomm兩案有’381和’366號專利,Enterprise在訴狀中提到Cirrus Logic Inc.提供Apple侵權組件,而Qualcomm提供給三星和Apple的組件侵犯’381和’366號專利;對Motorola、Amazon和三星的系爭專利與對Apple一案相同共5件。‘381和’366號專利的技術內容可透過晶片或感應器實施,而’201、’642和’610號專利是電子裝置藉由軟體達到的功能,所以生產零組件和終端產品的被告廠商之系爭專利相異。(1192字;表2)
表一、系爭專利
| Telephone having improved hands free operation audio quality and method of operation thereof |
| 公告號 |
US 6,785,381 |
 |
| 公告類型 |
B2 |
| 申請號 |
US 09/994,405 |
| 公告日 |
2004年8月31日 |
| 申請日 |
2001年11月27日 |
| 優先權日 |
2001年11月27日 |
| 其他專利號 |
US20030099345 |
| 發明人 |
Martin Gartner, Thomas D. Slagle |
| 原專利權人 |
Siemens Information And Communication Networks, Inc. |
| System for providing message services through a private network and mobile station |
| 公告號 |
US 7,454,201 |
 |
| 公告類型 |
B2 |
| 申請號 |
US 11/105,911 |
| 公告日 |
2008年11月18日 |
| 申請日 |
2005年4月13日 |
| 優先權日 |
2001年3月22日 |
| 其他專利號 |
US6920318, US20020137500, US20050176410, WO2002078370A2, WO2002078370A3, |
| 發明人 |
Michael A. Brooking, William H. Wiliams, Jr. |
| 原專利權人 |
Siemens Communications, Inc. |
| Headset/radio auto sensing jack |
| 公告號 |
US 6,594,366 |
 |
| 公告類型 |
B1 |
| 申請號 |
US 08/982,943 |
| 公告日 |
2003年7月15日 |
| 申請日 |
1997年12月2日 |
| 優先權日 |
1997年12月2日 |
| 其他專利號 |
無 |
| 發明人 |
Joel Adams |
| 原專利權人 |
Siemens Information & Communication Networks, Inc. |
| Apparatus and method for network resource preservation |
| 公告號 |
US 6,236,642 |
 |
| 公告類型 |
B1 |
| 申請號 |
US 08/897,161 |
| 公告日 |
2001年5月22日 |
| 申請日 |
1997年7月17日 |
| 優先權日 |
1997年7月17日 |
| 其他專利號 |
無 |
| 發明人 |
Shmuel Shaffer, William J. Beyda |
| 原專利權人 |
Siemens Information And Communication Networks, Inc. |
| Autoconfigurable method and system having automated downloading |
| 公告號 |
US 5,870,610 |
 |
| 公告類型 |
A |
| 申請號 |
US 08/672,774 |
| 公告日 |
1999年2月9日 |
| 申請日 |
1996年6月28日 |
| 優先權日 |
1996年6月28日 |
| 其他專利號 |
CA2333304A1, CN1143211C, CN1285935A, DE69840349D1, DE69841853D1, EP1599796A1, EP1599796B1, EP1962187A1, EP1962187B1, EP1962188A1, EP1962188B1, WO2000036502A1, |
| 發明人 |
William J. Beyda |
| 原專利權人 |
Siemens Business Communication Systems, Inc. |
Source: 科技政策研究與資訊中心 — 科技產業資訊室整理,2014/06
|