中國無人機專利大戰 大疆控告昊翔
科技產業資訊室 (iKnow) - 朱子亮 發表於 2016年4月13日
2016年4月1日,中國大陸無人機(UAV)研發生產公司大疆科技(SZ DJI Technology Co., Ltd.,簡稱DJI)在美國加州中區聯邦地方法院控告其同業競爭對手昊翔國際公司(Yuneec International Co.Ltd)及其美國分公司(Yuneec USA)侵犯下述2項美國專利(專利資訊見表一整理):
- US 9,164,506「目標追蹤系統和方法」(Systems and methods for target tracking);
- US 9,280,038「可更換式雲台」(Interchangeable Mounting Platform)。
大疆在訴狀指控昊翔公司於美國BestBuy、Walmart、eBay等購物網站所銷售之Typhoon系列無人空拍機產品,型號包含已上市產品Typhoon G、Typhoon Q500、Typhoon Q500+、Typhoon Q500 4K以及已發表但尚未上市之Typhoon H在內,該些無人機因具有目標追蹤(例如Typhoon系列之Watch Me / Follow Me等功能,參見圖一)和自動避障功能,以及可進行360度旋轉、用於裝設攝像機或其他設備之雲台,故侵犯該公司之目標追蹤系統(參見圖二)與可更換雲台兩項專利發明(參見圖三及圖四)。原告主張被告為事先知情下蓄意侵害前述專利,並要求審理法院核給侵權產品永久禁售令、侵權賠償、合理律師費等侵權救濟。本案目前已由加州中區聯邦地方法院受理。
圖一、無人機目標追蹤系統專利訴訟 大疆控告昊翔

圖二、昊翔公司Typhoon系列無人機WatchMe功能圖示

圖三、大疆公司所研發之目標追蹤系統圖示

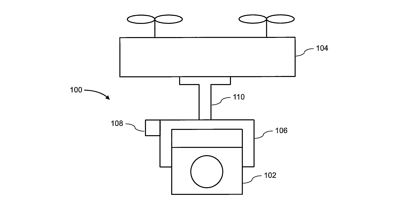
圖四、大疆公司Phantom 4機型攝像機及雲台圖示

圖五、昊翔公司Typhoon Q500無人機型攝像機及雲台圖示

本案原告大疆科技,係中國企業以研發生產無人飛行器及飛行影像系統為主,大疆總部位於中國深圳,在全球各地,包括美國、德國、荷蘭、日本、北京和香港分別設有營業據點,市場重點敘述如下:
- 目前為世界消費級無人機最大產品製造商,在商用無人機產品市場佔據龍頭地位,2015年占有全球消費級無人機市場約70%之市佔率。
- 自2016年以來,多家競爭對手如昊翔國際、零度智控(Zerotech)或億航智慧(EHang)等中國廠商,陸續發表其新一代無人機產品,如Yuneec新型無人機產品Typhoon H(參見圖五)具備了自動避障、目標自動追蹤、360度旋轉雲台、4K畫質視頻錄製等等功能,與大疆隨後所發表之主力產品「精靈4」(Phantom 4)同屬旗艦級無人機產品,然具備更高性價比,故未來可能對大疆無人機產品市占率構成衝擊。
- 大疆自早年即開始進行專利佈局,目前在全球已擁有數百項技術專利,而在美國擁有87項專利,技術領域涵蓋航拍、電視攝像、遠端追蹤及地理測繪等方面,此些領域皆為無人機未來主流發展方向。
被告昊翔也是中國企業,1999年成立於香港。昊翔作為一家電動無人機產品研發公司,早年將重心放在航拍系統和無線電控制等技術項目,市場重點敘述如下:
- 2015年獲得英特爾(Intel)提供 6千萬美金投資之後,加大航拍無人機技術之研發工作,
- 昊翔公司於2016年1月美國消費電子大展(CES)上所發表之新一代無人機產品Typhoon H結合了Intel研發之實感追蹤(RealSense™)技術,即顯示兩方之深度合作成果。
- 昊翔公司除擁有數十項專利(包含11項美國專利)技術成果之外,亦透過與Intel合作而獲得該方強大專利技術支持。
兩家無人機產品競爭日趨白熱化
自2015年起,大疆與昊翔兩家公司之無人機產品競爭日趨白熱化。昊翔推出對抗大疆精靈3(Phantom 3)的 Typhoon 4K空拍無人機後,2016年更推出了應用Intel 實感追蹤技術的之Typhoon H來對抗大疆精靈4產品。最終,兩方在空拍無人機市場之激烈競爭上,大疆選擇將戰場延伸至其佔優勢之智慧財產領域。
雖然,昊翔公司並非唯一之競爭對手,在規模及市占率尚不足與大疆相提並論,然在Intel資金和技術支援下,昊翔之快速成長已經對其市場地位構成威脅。
雙方專利侵權糾紛
本次涉訟專利發明之目標追蹤和飛行避障功能,同為兩家新一代智能無人機產品之主打特色,而在昊翔大打價格戰策略之下,Typhoon H因價格較為低廉,故未來可能對大疆精靈4旗艦產品之市場銷售構成不利影響。前述背景下,大疆選擇緊盯昊翔,透過發起專利侵權訴訟,來擾亂或拖慢對手新產品上市步伐,俾為自家產品之銷售創造有利條件。
本次無人機技術侵權糾紛,大疆並未在中國大陸法院發起侵權訴訟,主要原因為兩項系爭發明,目前尚未取得中國專利核可,同時鑒於歐美國家仍為無人機產品主要市場。大疆能夠迅速在美國取得兩項系爭發明之專利核可,原因在於該方利用美國發明法案(AIA)設置之Track One優先審查服務,以加速專利申請審查作業;其願意支付高昂審查費以迅速取得專利,原因一方面與其在訴狀書中宣稱昊翔公司刻意監控追蹤大疆專利申請進度,並及時修改產品設計以規避其專利之情形有關,另一方面則可能為考慮電子消費產品汰換迅速,市場生命週期十分短暫,若自身發明技術於侵權產品下市後方獲得專利核可,則可能無法於關鍵時期透過訴訟策略來打擊對手產品市場銷售。(1323字;表4)
表一、系爭專利資訊整理
| 專利名稱 |
Systems and methods for target tracking |
| 公告號 |
US 9164506 B1 |
| 申請號 |
US 14/471,954 |
| 申請日 |
2014年8月28日 |
| 優先權日 |
2014年7月30日 |
| 獲證日 |
2015年10月20日 |
| 發明人 |
Bo, Zang |
| 現專利權人 |
SZ DJI Technology Co., Ltd |
| 代表圖示 |
 |
| 專利名稱 |
Interchangeable mounting platform |
| 公告號 |
US 9,280,038 B1 |
| 申請號 |
14/463,558 |
| 申請日 |
2014年4月19日 |
| 優先權日 |
2014年4月28日 |
| 獲證日 |
2016年3月8日 |
| 發明人 |
Pan, Paul
Zhao, Tao
Zhao, Xifeng |
| 現專利權人 |
SZ DJI Technology Co., Ltd |
| 代表圖示 |
 |
Source:科技政策研究與資訊中心—科技產業資訊室整理,2016/4
表四、專利訴訟案件基本資訊
| 訴訟名稱 |
SZ DJI Technology Co., Ltd. et al v. Yuneec International Co. Ltd. et al |
| 提告日期 |
2016年4月1日 |
| 本案原告 |
SZ DJI Technology Co., Ltd.(大疆科技)
DJI Europe B.V. |
| 本案被告 |
Yuneec International Co. Ltd.(昊翔國際)
Yuneec USA Inc. |
| 訴訟案號 |
5:16-cv-00595 |
| 訴訟法院 |
美國加州中區聯邦地方法院 |
| 系爭專利 |
US 9,164,506 B1 Systems And Methods For Target Tracking
US 9,280,038 B1 Interchangeable Mounting Platform |
| 系爭產品 |
昊翔公司Typhoon系列無人機產品,型號包含已上市之Typhoon G、Typhoon Q500、Typhoon Q500 +、Typhoon Q500 4K,以及已發表但未上市之Typhoon H。 |
| 訴狀下載 |
 |
Source:科技政策研究與資訊中心—科技產業資訊室整理,2016/4
--------------------------------------------------------------------------------------------------------------------------------------------
【聲明】
1.科技產業資訊室刊載此文不代表同意其說法或描述,僅為提供更多訊息,也不構成任何投資建議。
2.著作權所有,非經本網站書面授權同意不得將本文以任何形式修改、複製、儲存、傳播或轉載,本中心保留一切法律追訴權利。
|