︿
Top

USB隨身碟專利訴訟,專利授權公司Anu IP 控告30家廠商

瀏覽次數:2792| 歡迎推文: facebook twitter wechat Linked

科技產業資訊室 (iKnow) - May 發表於 2012年4月19日
facebook twitter wechat twitter

2012年4月17與18日,美國馬利蘭州的專利授權公司Anu IP, LLC (下稱Anu IP)於美國東德州地方法院控告30家便攜式光學儲存媒體廠商侵犯其隨身碟(USB)專利,被告有:三星、Panasonic、優派、Olympus、JVC、錸德、天翰、廣穎電通...等。4月19日Anu IP也於美國ITC委員會提告。

本案系爭專利有2件,有關具有伸縮式連接器的隨身碟:

  • US6979210;Thumb drive with retractable USB connector
  • US7090515;Thumb drive with retractable USB connector

該兩項系爭專利於2004-2005年間公開申請,2005-2006年分別獲證,原專利權人皆屬於Ennova Direct, Inc.,後於2011年12月移轉給Anu IP, LLC公司。事實上,該專利曾於2008年由Ennova Direct控告過樂金電子(LG)、 威剛科技 (A-Data)、飛利浦、Kingstone、創見等多家隨身碟廠商 ,後於2010年雙方達成和解。

Anu IP, LLC是一家位於美國馬利蘭州的專利授權公司,由專利訴訟律師Barnhart, Kenneth P所設立。(201字;表1)

表一、權利項解析

 

US6979210 權利項1   US7090515 權利項1
1. A thumb drive comprising:
大拇碟
  1. A thumb drive comprising:
大拇碟
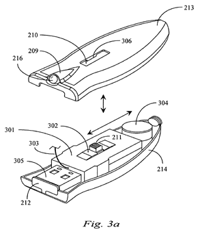
a housing enclosure (Fig. 3a - 213);
殼體
  a housing enclosure (Fig. 3a - 213);
殼體
on-board memory (Fig. 3a - 301) within the housing enclosure for storing digital information;
記憶體在殼體內
  on-board memory (Fig. 3a - 301) within the housing enclosure for storing digital information;
記憶體在殼體內
a male USB connector (Fig. 1C - 106) coupled to the on-board memory and constrained to translate from a position within the housing enclosure to a position outside the housing enclosure, the USB connector for connecting to a female USB port of a computer appliance; and
公USB接頭106連結記憶體
  a male USB connector (Fig. 1C - 106) coupled to the on-board memory, constrained to translate from a position within the housing enclosure to a position outside the housing enclosure and spring-loaded toward the position outside the enclosure, the USB connector for connecting to a female USB port of a computer appliance;
公USB接頭106連結記憶體
a slide button (Fig. 1C - 104) coupled through an opening (Fig. 2 - 210) in the housing to the USB connector;
滑動按鈕104透過殼體213的開口210耦合到USB接頭106
  a detent mechanism (Fig. 3B~3D) for keeping the spring-loaded connector inside the housing closure; and
卡合機構限制USB接頭106不會被壓縮彈簧推出殼體外
wherein moving the slide button in one direction extends the connector from the housing to couple to a female connector, and moving the slide button in the opposite direction retracts the connector within the housing enclosure.
當沿一方向移動滑動按鈕104 是把USB接頭106凸出殼體213之外, 當沿相反方向移動滑動按鈕104 是把USB接頭106收回殼體213之內
  a detent release button (Fig. 2 - 211) coupled through an opening (Fig. 2 - 210) in the housing functional to release the detent mechanism, causing the USB connector to translate to the position outside the housing enclosure.
卡合解除機構透過殼體213的開口210耦合來解除卡合機構, 使USB接頭106移動到殼體外
pclass_12_A094a.gif   pclass_12_A094b.gif

Source: 科技政策研究與資訊中心—科技產業資訊室整理,2012/04


表二、系爭專利相關之訴訟案

 

提告時間 案件名稱 承辦法院 專利號
2012.04.18 Anu IP, LLC v. Panasonic Corporation et al Texas Eastern District Court US6979210 ; US7090515
2012.04.18 Anu IP, LLC v. Patriot Memory, LLC Texas Eastern District Court US6979210
2012.04.18 Anu IP, LLC v. Provantage LLC Texas Eastern District Court US6979210
2012.04.18 Anu IP, LLC v. Sakar International, Inc. Texas Eastern District Court US6979210
2012.04.18 Anu IP, LLC v. Sanyo Electric Co Ltd et al Texas Eastern District Court US6979210
2012.04.18 Anu IP, LLC v. Silicon Power Computer and Communication, Inc. et al Texas Eastern District Court US6979210
2012.04.18 Anu IP, LLC v. Super Talent Technology Corporation Texas Eastern District Court US6979210
2012.04.18 Anu IP, LLC v. Supersonic, Inc. Texas Eastern District Court US7090515
2012.04.18 Anu IP, LLC v. Toshiba America, Inc. et al Texas Eastern District Court US6979210
2012.04.18 Anu IP, LLC v. ViewSonic Corporation Texas Eastern District Court US6979210
2012.04.18 Anu IP, LLC v. Voxx International Corporation et al Texas Eastern District Court US6979210
2012.04.18 Anu IP, LLC v. Yamaha Corporation et al Texas Eastern District Court US6979210
2012.04.17 Anu IP, LLC v. Aluratek, Inc. Texas Eastern District Court US6979210 ; US7090515
2012.04.17 Anu IP, LLC v. Archos S.A. et al Texas Eastern District Court US6979210
2012.04.17 Anu IP, LLC v. BlueStar Alliance, LLC Texas Eastern District Court US6979210
2012.04.17 Anu IP, LLC v. Centon Electronics, Inc. Texas Eastern District Court US6979210
2012.04.17 Anu IP, LLC v. Coby Electronics Corporation Texas Eastern District Court US7090515
2012.04.17 Anu IP, LLC v. Emtec Electronics, Inc. Texas Eastern District Court US6979210
2012.04.17 Anu IP, LLC v. General Imaging Company Texas Eastern District Court US6979210 ; US7090515
2012.04.17 Anu IP, LLC v. iRiver, Inc. Texas Eastern District Court US7090515
2012.04.17 Anu IP, LLC v. JVC Kenwood Corporation et al Texas Eastern District Court US6979210
2012.04.17 Anu IP, LLC v. Latte Communications, Inc. Texas Eastern District Court US6979210
2012.04.17 Anu IP, LLC v. Lexar Media, Inc. Texas Eastern District Court US6979210
2012.04.17 Anu IP, LLC v. Maxell Corporation of America, Inc. Texas Eastern District Court US6979210
2012.04.17 Anu IP, LLC v. Office Depot, Inc. Texas Eastern District Court US6979210
2012.04.17 Anu IP, LLC v. Olympus Corporation of the Americas et al Texas Eastern District Court US6979210
2012.04.17 Anu IP, LLC v. Option NV et al Texas Eastern District Court US6979210
2012.04.17 Anu IP, LLC v. Ritek Corporation et al ( 錸德 ) Texas Eastern District Court US6979210
2012.04.17 Anu IP, LLC v. Samsung Electronics Co., Ltd. et al Texas Eastern District Court US7090515
2008.01.23 Ennova Direct, Inc. v. LG Electronics U.S.A., Inc., et al California Northern District Court US6979210
Source: 科技政策研究與資訊中心—科技產業資訊室整理,2012/04

表一、專利訴訟案件基本資料:專利授權公司Anu IP, LLC控告30家便攜式光學儲存媒體廠商

訴訟名稱 Anu IP, LLC v. JVC et al.
提告日期 2012年4月19日
原告 Anu IP, LLC
被告
  • AIPTEK International, Inc. of Taiwan (天翰)
  • Aluratek, Inc. of Tustin, California
  • Archos S.A. of France
  • Archos, Inc. of Greenwood Village, Colorado
  • Bluestar Alliance LLC of New York, New York
  • Centon Electronics, Inc. of Aliso Viejo, California
  • Coby Electronics Corporation of Lake Success, New York
  • Corsair Memory, Inc. of Fremont, California
  • Emtec Electronics, Inc. of Lew Center, Ohio
  • General Imaging Company of Torrance, California
  • Huawei Technology Company, Ltd. of China
  • Iriver, Inc. of Irvine, California
  • JVC Kenwood Corporation of Japan
  • JVC Americas Corporation of Wayne, New Jersey
  • Latte Communications, Inc. of San Jose, California
  • Lexar Media, Inc. of Fremont, California
  • Maxell Corporation of America, Inc. of Woodland Park, New Jersey
  • Hitachi Maxell, Ltd. of Japan
  • Office Depot, Inc. of Boca Raton, Florida
  • Olympus Corporation of Japan
  • Olympus Corporation of the Americas of Center Valley, Pennsylvania
  • Option NV of Belgium
  • Option, Inc. of Alpharetta, Georgia
  • Panasonic Corporation of Japan
  • Panasonic Corporation North America of Secaucus, New Jersey
  • Patriot Memory LLC of Fremont, California
  • Provantage LLC of North Canton, Ohio
  • RITEK Corporation of Taiwan (錸德)
  • Advanced Media, Inc. dba RITEK U.S.A. of Diamond Bar, California(錸德子公司)
  • Sakar International, Inc. of Edison, New Jersey
  • Samsung Electronics Co., Ltd. of South Korea
  • Samsung Electronics America of Ridgefield, New Jersey
  • Sanyo Electric Co., Ltd. of Japan
  • Sanyo North America Corporation of San Diego, California
  • Silicon Power Computer and Comm., Inc. of Taiwan (廣穎電通)
  • Silicon Power Computer and Comm. USA, Inc. of Cupertino, California
  • Supersonic, Inc. of Commerce, California
  • Super Talent Technology Corporation of San Jose, California
  • Toshiba Corporation of Japan
  • Toshiba America, Inc. of New York, New York
  • ViewSonic Corporation of Walnut, California
  • VOXX International Corporation of Hauppauge, New York
  • Audiovox Accessories Corporation of Carmel, Indiana
  • Yamaha Corporation of Japan
  • Yamaha Corporation of America of Buena Park, California
案號 337-TA-
訴訟法院 US ITC
系爭專利 US6979210、US7090515
訴狀下載 download.gif

Source: 科技政策研究與資訊中心—科技產業資訊室整理,2012/04


 
歡迎來粉絲團按讚!
--------------------------------------------------------------------------------------------------------------------------------------------
【聲明】
1.科技產業資訊室刊載此文不代表同意其說法或描述,僅為提供更多訊息,也不構成任何投資建議。
2.著作權所有,非經本網站書面授權同意不得將本文以任何形式修改、複製、儲存、傳播或轉載,本中心保留一切法律追訴權利。