2015年2月13日,營運總部位於美國加州聖地牙哥的e.Digital Corporation公司(下稱e.Digital),向美國加州北區聯邦地院提起專利侵權告訴,控告在美國以Oco品牌名義從事商業活動的中國大陸公司深圳市高斯貝爾家居智慧電子有限公司(Shenzhen Gospell Smarthome Electronic Co., Ltd.,下稱GOSCAM),以及與Oco品牌商業活動有密切關係的美國公司Invideon LLC、Global Innovations Inc.以及New Sight Devices Corp.等(以下統稱被告),其在美國境內販賣之Oco無線攝影機系統(Oco wireless camera systems),包括但不限於Oco Camera產品、用來進行遠距安全監控與通訊之Ivideon雲端視訊監控服務及其伺服器等(以下統稱被控侵權產品),間接侵害(包括誘使與輔助侵害)了e.Digital所擁有之五件專利權利。
被控侵權的Ivideon雲端視訊監控服務(cloud-based video surveillance service),是透過網路讓使用者可以隨時隨地觀看所架設攝影機之監控畫面,並在雲端儲存監控視訊之服務,而被控侵權的Oco Camera則是具備Wi-Fi無線通訊功能、結合Ivideon之App可以讓使用者隨時隨地透過行動通訊裝置觀看攝影畫面。
e.Digital提出五件系爭專利為美國專利編號US 8,306,514(’514專利,公告日為2012年11月6日)、US 8,311,522(‘522專利)、US 8,311,523(‘523專利)、US 8,311,524(‘524專利,以上三件專利之公告日均為2012年11月13日)以及US 8,315,619(‘619專利,公告日為2012年11月20日),名稱均為「管理行動通訊之系統與方法(System and method for managing mobile communications)」,發明人為Patrick Nunally。’514專利、'523專利、’524專利與’619專利均為’522專利(美國專利申請號為12/891,875,申請日為2010年9月28日)在申請時的連續案(continuation)。
e.Digital在訴狀指稱,被控侵權產品間接侵害了’514專利之請求項5與6、’522專利之請求項1、3、6、17、21、22、23、24與25、’523專利之請求項1、3、10、19與26、’524專利之請求項1以及’619專利之請求項1、3、19與32。
根據e.Digital公司網站的說明,本案系爭專利皆是Nunchi專利組合中的專利,而Nunchi則是e.Digital所開發出並實用化的技術,使用內建於手機中的感應器獲取資料,並使用這些資料,透過雲端伺服器、即有通訊網路、相關資料庫等,來掌握、預測與管理使用者的通訊需求。
e.Digital在2015年1月22日曾經以本案相同系爭專利權利,向美國加州南區聯邦地院起訴,控告一家名為ArcSoft, Inc.公司所提供類似於本案被控侵產品之攝影機產品(品牌名稱為simplicam)與雲端視訊監控服務(品牌名稱為closeli)構成侵權(案號為3:15-cv-00056-BEN-DHB)。
e.Digital專利組合所提出之系爭專利
| e.Digital專利組合 |
提出之系爭專利 |
| Nunchi專利組合 |
US 8,306,514;US 8,311,522;US 8,311,523;US 8,311,524;US 8,315,619 |
| Flash-R |
US 5,839,108 |
此外,e.Digital也擁有一個與快閃記憶體相關之專利組合Flash-R,而近來e.Digital積極使用該專利組合中的US 5,839,108專利(名稱為「手持紀錄與回放裝置中的快閃記憶體檔案系統(Flash memory file system in a handheld record and playback device)」,於1998年11月17日核發) ,控告多家廠商侵權,例如宏碁(e.Digital Corporation v. Acer America Corporation,起訴日期為2015年1月21日,案號為3:15-cv-00144-H-BGS)、聯想(e.Digital Corporation v. Lenovo,起訴日期為2015年1月21日,案號為3:15-cv-00135-H-BGS)、e.Digital Corporation v. Hewlett-Packard Company,起訴日期為2015年2月17日,案號為3:15-cv-00333-H-BGS)等。(1840字;表2)
表一、系爭專利請求項解析
| US 8,306,514 請求項5 |
US 8,311,522 請求項17 |
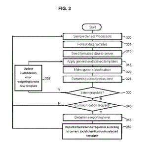
| 5. A system to automatically provide differing levels of information according to a predetermined social hierarchy, comprising: 一種依據預設社會階層自動提供不同層級資訊的系統,包括 |
17. A method of automatically providing differing levels of information according to a predetermined social hierarchy, the method comprising: 一種依據預設社會階層自動提供不同層級資訊的方法,該方法包括以下步驟 |
| a communication device (FIG.1 - 100) comprising a sensor set which detects sensor data including a first detected sensor value comprising an amount of light of an environment of the communication device detected by an optical sensor (FIG.1 - 130) and a second detected sensor value comprising a sound level of the environment of the communication device detected by an acoustic sensor (FIG.1 - 140), and transmits the detected sensor data; 一通訊裝置,其包括偵測感應器資料的一感應器組,前述感應器資料包括一第一經偵測感應器值,其由一光學感應器所偵測到之通訊裝置環境光量所構成,以及一第二經偵測感應器值,其由一聲音感應器所偵測到之通訊裝置環境音量所構成,前述通訊裝置並傳送經偵測之感應器資料 |
constructing a social signature using sensor data sensed by a sensor set in a communication device, the sensor data comprising a first detected sensor value comprising optical information from an optical sensor of the communication device which detects an amount of light of an environment of the communication device and a second detected sensor value comprising acoustic information from an acoustic sensor of the communication device which detects a sound level of the environment of the communication device; 使用透過一通訊裝置之一感應器組所感應的感應器資料建構出一社會簽章,前述感應器資料包括一第一經偵測感應器值,其由通訊裝置之一光學感應器偵測通訊裝置環境光量所得光學資訊所構成,以及一第二經偵測感應器數值,其由通訊裝置之一聲音感應器偵測通訊裝置環境音量所得聲音資訊所構成, |
| constructing a social signature using sensor data sensed by a sensor set in a communication device, the sensor data comprising a first detected sensor value comprising optical information from an optical sensor of the communication device which detects an amount of light of an environment of the communication device and a second detected sensor value comprising acoustic information from an acoustic sensor of the communication device which detects a sound level of the environment of the communication device; 使用透過一通訊裝置之一感應器組所感應的感應器資料建構出一社會簽章,前述感應器資料包括一第一經偵測感應器值,其由通訊裝置之一光學感應器偵測通訊裝置環境光量所得光學資訊所構成,以及一第二經偵測感應器數值,其由通訊裝置之一聲音感應器偵測通訊裝置環境音量所得聲音資訊所構成, |
determining which one of a plurality of social templates has a social signature with a greatest correspondence with the constructed social signature through comparison of the first and second detected sensor values and first and second sensor value ranges of each social template, each social template corresponding to a unique social signature comprising corresponding first and second sensor value ranges and each social template being selectable to provide, for each level of the predetermined social hierarchy, a corresponding differing amount of information to each member of the predetermined social hierarchy; 透過比較第一與第二經偵測感應器值以及每個社會模組之第一與第二感應器值範圍,決定複數社會模組中何者所具備之社會簽章與所建構之社會簽章最為對應,每個社會模組對應到一獨有之社會簽章,其由對應之第一感應器值範圍與第二感應器值範圍所構成,每個社會模組可以被選擇來,就預設社會階層之每個層級,提供一相應而不同量之資訊給預設社會階層之每個成員 |
| a server comprising a processor which receives the sensor data transmitted from the communication device, creates a detected social signature from the received sensor data, determines which of the social signatures of the stored social templates has a greatest correspondence with the created social signature, retrieves from the memory the determined one social template having the greatest correspondence and having the detected amount of light within the first sensor value range and the detected sound level within the second sensor value range through comparison of the first and second detected sensor values and the first and second sensor value ranges of each stored social template, and provides to at least one member of the predetermined social hierarchy only as much information as allowed based on the retrieved social template, 一伺服器,包括一從前述通訊裝置接收感應器資料之處理器,其從所接收之感應器資料中產生經偵測之社會簽章,決定所儲存社會模組之社會簽章中何者與所產生之社會簽章最為對應,從記憶體中取得被決定是最為對應的一個社會模組,其透過比較第一與第二經偵測感應器值以及每個所儲存社會模組之第一與第二感應器值範圍,判斷經偵測光量在第一感應器值範圍內且經偵測音量在第二感應器值範圍內,並依據所取得社會模組所允許之資訊量,提供資訊給至少一個預設社會階層成員 wherein, at least one of the social templates corresponds to an emergency, and when the processor detects an emergency situation from a correspondence of the detected social signature and the one social template for the emergency, the processor automatically provides information related to the emergency to predetermined emergency services, friends and/or family members according to the detected emergency situation. 其中至少一個社會模組對應到一緊急狀態,而當處理器從所偵測社會簽章與緊急狀態之社會模組的對應中偵測到緊急狀態時,處理器根據所偵測之緊急狀態,自動提供緊急狀態之相關資訊至預設之緊急狀態處理服務、朋友與/或家族成員 |
retrieving from a memory the determined one social template having the greatest correspondence and having the detected amount of light within the first sensor value range, and the detected sound level within the second sensor value range; and 從一記憶體中取得所決定之一個社會模組,該社會模組與所建構社會簽章最為對應,且經偵測之光量在其第一感應器值範圍內,而經偵測之音量在其第二感應器值範圍內 providing to at least one member of the predetermined social hierarchy only as much information as allowed based on the retrieved social template. 依據所取得之社會模組,提供所允許之資訊量給至少一個預設社會階層成員 |
 |
 |
| US 8,311,523 請求項1 |
US 8,311,524 請求項1 |
| 1. A server in communication with a communication device via a network and which automatically provides differing levels of information according to a predetermined social hierarchy, the server comprising: 一種透過網路與一通訊裝置進行通訊且依據預設社會階層自動提供不同層級資訊的伺服器,該伺服器包括 |
1. A method of automatically providing differing levels of information according to a predetermined social hierarchy, the method comprising: 一種依據預設社會階層自動提供不同層級資訊的方法,該方法包括以下步驟 |
| a memory which stores social templates, each social template corresponding to a unique social signature comprising a first sensor value range and a second sensor value range other than the first sensor value range and each social template being selectable to provide, for each level of the predetermined social hierarchy, a corresponding differing amount of information to each member of the predetermined social hierarchy; 一儲存社會模組之記憶體,每個社會模組對應到一獨有之社會簽章,其由一第一感應器值範圍與一不同於第一感應器值範圍之第二感應器值範圍所構成,每個社會模組可以被選擇來,就預設社會階層之每個層級,提供一相應而不同量之資訊給預設社會階層之每個成員 |
receiving sensor data transmitted from a sensor set producing the sensor data, the sensor data including a first detected sensor value comprising optical information from an optical sensor of the sensor set which detects an amount of light of an environment of the communication device and a second detected sensor value comprising acoustic information from an acoustic sensor of the sensor set which detects a sound level of the environment of the communication device; 接收來自產生感應器資料之感應器組所傳送的感應器資料,前述感應器資料包括一第一經偵測感應器值,其由通訊裝置中光學感應器偵測通訊裝置環境光量所得光學資訊所構成,以及一第二經偵測感應器數值,其由通訊裝置中聲音感應器偵測通訊裝置環境音量所得聲音資訊所構成 |
| a processor which receives from the communication device sensor data received from a sensor set of the communication device which detects sensor data including a first detected sensor value comprising optical information detected by an optical sensor of the sensor set which detects an amount of light of an environment of the communication device and a second detected sensor value comprising acoustic information detected by an acoustic sensor of the sensor set which detects a sound level of the environment of the communication device, creates a detected social signature from the received sensor data, determines which of the social signatures of the social templates has a greatest correspondence with the created social signature through comparison of the first and second detected sensor values and the first and second sensor value ranges of each stored social template, retrieves from the memory the determined one social template having the greatest correspondence and having the detected amount of light within the first sensor value range and the detected sound level within the second sensor value range, and provides to at least one member of the predetermined social hierarchy only as much information as allowed based on the retrieved social template; and 一處理器,其從通訊裝置接收由通訊裝置感應器組所取得之感應器資料,感應器組偵測感應器資料,包括一第一經偵測感應器值,其由感應器組中光學感應器所偵測到之通訊裝置環境光量所構成,以及一第二經偵測感應器值,其由感應器組中聲音感應器所偵測到之通訊裝置環境音量所構成,該處理器從所接收之感應器資料中產生經偵測之社會簽章,透過比較第一與第二經偵測感應器值以及每個所儲存社會模組之第一與第二感應器值範圍,決定所儲存社會模組之社會簽章中何者與所產生之社會簽章最為對應,且經偵測光量在其第一感應器值範圍內而經偵測音量在其第二感應器值範圍內,並依據所取得社會模組所允許之資訊量,提供資訊給至少一個預設社會階層成員 |
constructing a social signature using the received sensor data; 使用所接收感應器資料建構一社會簽章 determining which one of a plurality of stored social templates has a social signature with a greatest correspondence with the constructed social signature through comparison of the first and second detected sensor values and first and second sensor value ranges of each social template, each stored social template corresponding to a unique social signature comprising corresponding first and second sensor value ranges and each social template being selectable to provide, for each level of the predetermined social hierarchy, a corresponding differing amount of information to each member of the predetermined social hierarchy; and 透過比較第一與第二經偵測感應器值以及每個社會模組之第一與第二感應器值範圍,決定複數社會模組中何者所具備之社會簽章與所建構之社會簽章最為對應,每個社會模組對應到一獨有之社會簽章,其由對應之第一感應器值範圍與第二感應器值範圍所構成,每個社會模組可以被選擇來,就預設社會階層之每個層級,提供一相應而不同量之資訊給預設社會階層之每個成員 |
| a transceiver which receives the sensor data from the sensor set in the communication device, and provides under the control of the processor to at least one of the members of the predetermined social hierarchy only as much information as allowed based on the retrieved social template. 一收發器,其從通訊裝置內感應器組接收感應器資料,並在處理器之控制下,依據所取得社會模組所允許之資訊量,提供資訊給至少一個預設社會階層成員 |
retrieving from a memory the determined one social template having the greatest correspondence and having the detected amount of light within the first sensor value range and the detected sound level within the second sensor value range, wherein at least one member of the predetermined social hierarchy is provided only as much information as allowed based on the retrieved social template. 從一記憶體中取得所決定之一個社會模組,該社會模組與所建構社會簽章最為對應,且經偵測之光量在其第一感應器值範圍內,而經偵測之音量在其第二感應器值範圍內,其中至少一個一個預設社會階層成員會被提供所取得社會模組所允許之資訊量 |
 |
 |
| US 8,315,619 請求項1 |
| 1. A communication system in communication with a communication device (FIG.2 - 200) via a network (FIG.2 - 260) and which automatically provides differing levels of information according to a predetermined social hierarchy, the communication system comprising: 一種透過網路與一通訊裝置進行通訊並依據預設社會階層自動提供不同層級資訊的通訊網路,該通訊網路包括 |
| a memory which stores social templates, each social template corresponding to a unique social signature comprising a first sensor value range and a second sensor value range other than the first sensor value range and each social template being selectable to provide, for each level of the predetermined social hierarchy, a corresponding differing amount of information to each member of the predetermined social hierarchy; and 一儲存社會模組之記憶體,每個社會模組對應到一獨有之社會簽章,其由一第一感應器值範圍與一不同於第一感應器值範圍之第二感應器值範圍所構成,每個社會模組可以被選擇來,就預設社會階層之每個層級,提供一相應而不同量之資訊給預設社會階層之每個成員 |
| a server (FIG.2 - 270) comprising a processor which receives from the communication device sensor data received from a sensor set of the communication device which detects sensor data including a first detected sensor value from a first sensor and a second detected sensor value from a second sensor related to an environment of the communication device, creates a detected social signature from the received sensor data, determines which of the social signatures of the social templates has a greatest correspondence with the created social signature through comparison of the first and second detected sensor values and the first and second sensor value ranges of each stored social template, retrieves from the memory the determined one social template having the greatest correspondence, and provides to at least one member of the predetermined social hierarchy only as much information as allowed based on the retrieved social template; and 一伺服器,包括一從前述通訊裝置偵測感應器資料之感應器組接收感應器資料的處理器,所偵測感應器資料與通訊裝置之環境有關,包括來自一第一感應器之第一經偵測感應器值與來自一第二感應器之第二經偵測感應器值,處理器從所接收之感應器資料中產生經偵測之社會簽章,透過比較第一與第二經偵測感應器值以及每個所儲存社會模組之第一與第二感應器值範圍,決定所儲存社會模組之社會簽章中何者與所產生之社會簽章最為對應,從記憶體中取得被決定是最為對應的一個社會模組,並依據所取得社會模組所允許之資訊量,提供資訊給至少一個預設社會階層成員 |
| a transceiver (FIG.2 - 280) which receives the sensor data from the sensor set in the communication device, and provides under the control of the processor to at least one of the member of the predetermined social hierarchy only as much information as allowed based on the retrieved social template, 一收發器,其從通訊裝置內感應器組接收感應器資料,並在處理器之控制下,依據所取得社會模組所允許之資訊量,提供資訊給至少一個預設社會階層成員 |
| wherein: the first detected sensor value of the sensor data comprises optical information from an optical sensor of the sensor set which detects an amount of light of the environment of the communication device, and the second detected sensor value of the sensor data comprises acoustic information from an acoustic sensor of the sensor set which detects a sound level of the environment of the communication device, and the processor retrieves from the memory the determined one social template having the detected amount of light within the first sensor value range, and the detected sound level within the second sensor value range. 其中:感應器資料之第一經偵測感應器值,為感應器組中光學感應器偵測通訊裝置環境光量所得之光學資訊,感應器資料之第二經偵測感應器值,為感應器組中聲音感應器偵測通訊裝置環境音量所得之聲音資訊,而處理器從記憶體中取得所決定之一個社會模組,其具備包含經偵測光量在內之第一感應器值範圍以及包含經偵測音量在內之第二感應器值範圍 |
 |
Source: 科技政策研究與資訊中心—科技產業資訊室整理,2015/03
表二、專利訴訟案件基本資料:e.Digital控告GOSCAM等
| 訴訟名稱 |
e.Digital Corporation v. ShenZhen Gospell Smarthome Electronic Co., Ltd. et al |
| 提告日期 |
2015年2月13日 |
| 原告 |
e.Digital Corporation |
| 被告 |
ShenZhen Gospell Smarthome Electronic Co., Ltd. (深圳高斯貝爾家居智慧電子有限公司;中國)
Ivideon LLC
Global Innovations, Inc.
New Sight Devices Corp. |
| 案號 |
4:15-cv-00691-DMR |
| 訴訟法院 |
the U.S. District Court for the Northern District of California |
| 系爭專利 |
US 8,306,514
US 8,311,522
US 8,311,523
US 8,311,524
US 8,315,619 |
| 系爭產品與服務 |
被告以Oco之品牌名稱在美國境內販賣、用於安全監控之Oco無線攝影機系統(Oco Wireless camera systems),包括但不限於Oco Camera產品,https://www.ivideon.com/video-surveillance-camera/,用於遠距安全監控與通訊的Ivideon雲端視訊監控服務及其伺服器(Ivideon Recording Services and sever for remote monitoring and communication),https://www.ivideon.com/ (最後瀏覽日:2015/03/02) |
| 訴狀下載 |
 |
Source: 科技政策研究與資訊中心—科技產業資訊室整理,2015/03
--------------------------------------------------------------------------------------------------------------------------------------------