 
                    家登與英特格侵權訴訟再起 家登求償1億元
                        
                        
                            
                                科技產業資訊室 (iKnow) - Bond 發表於 2021年12月2日
                            
                         
                     
                
            
         
        
            
            
圖、家登與英特格侵權訴訟再起 家登求償1億元
半導體光罩傳載解決方案廠商家登(3680)今 (2021.11.30) 公告指出,該公司已向美商英特格(ENTEGRIS)及台灣英特格等4名被告提起專利侵權訴訟,因未經授權而用以製造、販賣、使用於晶圓傳送盒及極紫外光光罩盒等產品,已向智慧財產及商業法院提起損害賠償等訴訟,向英特格求償新臺幣1億元。
 
英特格向智慧財產及商業法院提起確認之訴,今年 (2021) 11月5日以家登為被告,以證明英特格從未侵害家登的專利。英特格自認自家公司的FOUP和EUV產品,沒有侵害家登的專利且主張家登的專利無效。
 
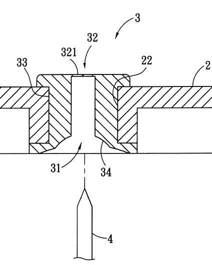
本案系爭專利是家登所擁有專利權證號:「中華民國發明第I238804號」,使用於晶圓傳送盒及極紫外光光罩盒等產品。該專利 ‘804 專利申請日是2004年3月8日,核准公告日是2005年9月1日。該專利更正後專利範圍請求項1、3、6、7、9為獨立項,其中請求項7、9文字和對應圖示說明整理如下:
【請求項7】一種傳送盒之填充裝置改良,尤指SMIF系統所使用之傳送盒內的填充裝置,該傳送盒係具有座體2,而座體2上方為覆蓋有蓋體1,且蓋體1內為具有可容置光罩或晶圓之容置空間11,其特徵在於:
 
該座體2內為設置有透孔21,並於透孔21內穿設有填充裝置3,而填充裝置3內為具有中空通道31,且中空通道31的一端為設置有開合部32,俾使充氣管4可藉由開合部32而伸入傳送盒內充填氣體,且當充氣管4抽出時該開合部32會自行閉合;其中,該填充裝置為塑膠所製成。     
【請求項9】一種傳送盒之填充裝置改良,尤指SMIF系統所使用之傳送盒內的填充裝置,該傳送盒係具有座體2,而座體上方為覆蓋有蓋體1,且蓋體1內為具有可容置光罩或晶圓之容置空間11,其特徵在於:
該座體2內為設置有透孔21,並於透孔21內穿設有填充裝置3,而填充裝置內為具有中空通道31,且中空通道31的一端為設置有開合部32,且遠離開合部之另一端34可抵持充氣管4,而充氣管4為可抵持於中空通道之另一端34使中空通道31呈密閉狀態,俾讓充氣管4可藉氣體的正壓力來打開開合部32進而達到充填的效果;
其中,該填充裝置3為橡膠所製成,且該填充裝置3的外徑大於該透孔21的內徑。     

 
針對上述侵害公司專利權事件,家登於2021年9月27日發函通知對方侵權的事實,10月29日接到公司回函指家登專利無效,並請求協商。雙方律師約定於11月12日進行會面,會面過程中,家登清楚表達對方侵權產品確實落入家登專利範圍,且侵權產品歷年來累積獲利高達新台幣百億元,但對方仍表示家登專利權存在無效的原因。家登於11月30日下午收到英特格向智慧財產及商業法院提起「確認家登專利請求權不存在訴訟」的起訴狀。
 
隨之,家登也委請公司法律顧問萬國法律事務所,向智慧財產及商業法院提起損害賠償等訴訟,求償新臺幣1億元賠償,且不得再自行或委託、授權他人製造、為販賣之要約、販賣、使用或為上述目的而進口的侵權產品,並應將侵權產品銷毀。
 
先前訴訟才和解不久
之前,家登與ENTEGRIS光罩傳送盒專利侵權訴訟 (中華民國專利證號I317967「光罩載具及支撐光罩之方法」),才於2020年11月達成和解授權。根據家登於2020年11月18日公告,與美商安堤格理斯公司(ENTEGRIS,INC.)就RSP光罩傳送盒及EUV POD等產品專利侵權案件,簽訂保密之授權協議、達成和解授權。該授權協議將解決家登公司與ENTEGRIS所有既存之法律訴訟及專利爭議。此外,家登將取回免除假執行之擔保金9億7,887萬元。
 
結語
現在,雙方新一輪專利訴訟再起,但攻防角色互換;發生此次訴訟,說明去年雙方簽署和解合約中,英特格並未取得家登所有傳送盒相關專利的交互授權,至少未取得I238804專利之授權。於前次訴訟攻防中,英特格具優勢談判地位時,似乎比較著重於攻擊,卻未對家登的可能專利反擊進行防範。
 
由於,家登在中國半導體市場攻城掠地,而引來英特格提告。英特格和家登都是半導體晶圓光罩盒重要供應商,也都是「台積電大同盟」成員,供應台積電晶圓廠使用的晶圓盒等關鍵設備。(2356字;圖1)
參考資料:
家登光罩盒訴訟演出逆轉勝:從賠償9億多元扭轉將系爭專利無效。科技產業資訊室(iKnow),2020/6/8。 
家登:美國Entegris向智慧財產及商業法院提起「確認我司專利請求權不存在訴訟」。華南證券,2021/11/30。
家登與ENTEGRIS光罩傳送盒專利侵權 達成和解授權。科技產業資訊室(iKnow),2020/11/19。 
相關文章:
1. 家登與ENTEGRIS光罩傳送盒專利侵權 達成和解授權
2. 家登光罩盒訴訟演出逆轉勝:從賠償9億多元扭轉將系爭專利無效
3. 晶圓光罩載具美商Entegris勝訴,家登須賠9.78億
4. 昇陽半告宜特專利侵權案,最高法院駁回昇陽半三審上訴,全案終結
5. 恩智浦反控聯發科侵害Wifi-5、Wifi-6無線網路相關專利
6. 兩岸觸控IC專利訴訟:義隆電子在台灣控告匯頂 求償5千萬
            
            
                
                
                        
                    
                
            
         
         
        
       
        --------------------------------------------------------------------------------------------------------------------------------------------
        
        
						
							
								| 【聲明】 1.科技產業資訊室刊載此文不代表同意其說法或描述,僅為提供更多訊息,也不構成任何投資建議。
 2.著作權所有,非經本網站書面授權同意不得將本文以任何形式修改、複製、儲存、傳播或轉載,本中心保留一切法律追訴權利。
 |