︿
Top

TPL控告宏碁等13家公司請求ITC進行無線消費電子產品侵權調查

瀏覽次數:2181| 歡迎推文: facebook twitter wechat Linked

科技產業資訊室 (iKnow) - SYL 發表於 2012年7月30日
facebook twitter wechat twitter

2012年7月23日,就摩爾微處理器專利組合(Moore Microprocessor Patent portfolio,MMPTM portfolio)各自擁有權利之Technology Properties Limited LLC (TPL)、Patriot Scientific Corporation (PTSC)以及Phoenix Digital Solutions LLC (PDS)三家公司,向美國國際貿易委員會(United States International Trade Commission,ITC)提告,要求ITC調查包括Acer、Amazon、Barnes & Noble、Garmin、HTC、華為(Huawei)、京瓷(Kyocera)、LG、任天堂(Nintendo)、Novatel Wireless、三星(samsumg)、Sierra Wireless、中興(ZTE)等13家公司在美國境外組裝後輸入美國販售的多項搭載無線通訊功能之消費電子產品,包括筆記型電腦、平板電腦、智慧型手機、衛星導航裝置、掌上遊戲機、行動熱點等產品,侵犯MMPTM portfolio中、一項透過兩個獨立時鐘讓中央處理器與I/O介面,可以非同步執行動作的專利。

MMPTM portfolio是立基於共同發明人Charles H. Moore與Russell H. Fish, III
兩人所發展出之多項與微處理器相關的專利技術,其目前是由TPL旗下之Alliacense負責授權與維運等事宜。Charles H. Moore為TPL之Chief Technology officer,而Russell H. Fish, III就MMPTM portfolio中相關專利之權利則移轉給PTSC;經過一連串的權利爭議與協商,TPL與PTSC兩間公司在2005年達成協議共同就MMPTM portfolio中專利進行授權並獲取利益,並共同擁有PDS公司,再將相關權利專屬授權給PDS來進行運用布局。MMPTM portfolio中主要專利(如本案系爭專利)多次受到全球許多電子大廠向美國專利商標局(USPTO)提出再審之有效性挑戰,不過其有效性仍受到維持;目前MMPTM portfolio有94個被授權企業,包括Ford、Sony、Toshiba、HP、Fujitsu、Philips與華碩等。

本案系爭專利為美國專利編號US5,809,336,名稱為「具備變速系統時鐘之高效能微處理器(High performance microprocessor having variable speed system clock)」,於1998年9月15日核發。該專利曾受到六次專利再審的挑戰(例如來自NEC、Toshiba等),但USPTO分別在2009年12月15日與2010年11月23日做出裁決支持其有效性。

TPL等基於本案系爭專利曾於2005年控告Fujitsu、Toshiba、NEC等公司侵犯其權利(案號為2:05-cv-00494),並與上述被告達成和解,亦曾於2008年控告華碩專利侵權(案號為2:08-cv-00177),該案亦以和解收場。此次TPL等除向ITC提出調查請求外,亦同時向加州北區聯邦地院(the U.S. District Court for the Northern District of California)提起告訴,控告本案調查中除了Acer與HTC外的其他被告,侵犯本案系爭專利與其他專利(如US 5,440,749與US 5,530,890),包括任天堂(案號為5:12-cv-03881-HRL)、華為(案號為3:12-cv-03865-NC)、LG(案號為5:12-cv-03880-PSG),Amazon(案號為4:12-cv-03861-DMR)等。 (996字;表2)

表一、請求項解析

US 5,809,336 請求項1
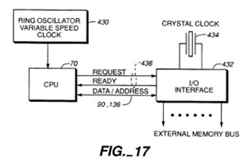
1. A microprocessor system, comprising
一項微處理器系統,包括
a single integrated circuit including a central processing unit (Fig.17 - 70) and an entire ring oscillator variable speed system clock (Fig.17 - 430) in said single integrated circuit and connected to said central processing unit for clocking said central processing unit,
一單一積體電路包括一中央處理器,以及一環型振盪器變速系統時鐘、其裝設在前述單一積體電路中、並連接前述中央處理器、以校準前述中央處理器之時間
said central processing unit and said ring oscillator variable speed system clock each including a plurality of electronic devices correspondingly constructed of the same process technology with corresponding manufacturing variations,
前述中央處理器與前述環型振盪器系統時鐘各自包括複數電子元件,其相應構成同一處理技術並具備相應之製造變異性
a processing frequency capability of said central processing unit and a speed of said ring oscillator variable speed system clock varying together due to said manufacturing variations and due to at least operating voltage and temperature of said single integrated circuit;
前述中央處理器之處理器頻率以及前述環型振盪器變速系統時鐘之速度,因應前述製造變異性以及因應前述單一積體電路之工作電壓與溫度而一同變化
an on-chip input/output interface (Fig.17 - 432) connected to exchange coupling control signals, addresses and data with said central processing unit;
一晶片輸入/輸出介面,其與前述中央處理器交換耦合控制信號、位址與資料
and a second clock (Fig.17 - 434) independent of said ring oscillator variable speed system clock connected to said input/output interface.
第二個時鐘,其獨立於前述環型振盪器變速系統時鐘並與前述輸入/輸出介面連接
pclass_12_A202.gif

Source: 科技政策研究與資訊中心—科技產業資訊室整理,2012/07

表二、ITC專利侵權調查案件基本資料

TPL等(摩爾微處理器專利組合)請求ITC調查

案件名稱 Certain Wireless Consumer Electronics Devices and Components Thereof
提告日期 2012年7月23日
原告 Technology Properties Limited LLC
Phoenix Digital Solutions LLC
Patriot Scientific Corporation
被告 Acer Inc.;Acer America Corporation
Amazon.com, Inc.
Barnes & Noble, Inc.
Garmin Ltd.;Garmin International, Inc.;Garmin USA, Inc.
HTC Corporation;HTC America
Huawei Technolofies Co., Ltd.;Huawei North America
Kyocera Corporation;Kyocera Communications, Inc.
LG Electronics, Inc.;LG Electronics U.S.A., Inc.
Nintendo Co., Ltd.;Nintendo of America, Inc.
Novatel Wireless, Inc.
Samsung Electronics Co., Ltd.;Samsung Electronics America, Inc.
Sierra Wireless, Inc.;Sierra Wireless America, Inc.
ZTE Corporation;ZTE (USA) Inc.
受理機關 United States International Trade Commission (ITC)
案號 337-TA-853
系爭專利 US 5,809,336
訴狀下載 download.gif

Source: 科技政策研究與資訊中心—科技產業資訊室整理,2012/07

訴訟大事紀

2013

01-18Technology Properties Limited告Acer公司案,法官作出4件系爭專利權利項語句解釋

原告: Technology Properties Limited

2012年12月4日Technology Properties Limited告Acer公司案,法官作出4件系爭專利權利項語句解釋(Claim Construction)命令。

Claim語句: accepts broadcast data
解釋:accepts data that was transmitted
系爭專利:6,233,389

Claim語句: clocking said CPU
解釋:Providing a timing signal to said central processing unit

Claim語句: instruction register
解釋:Register that receives and holds one or more instructions for supplying to circuits that interpret the instructions

Claim語句: ring oscillator
解釋:an oscillator having a multiple, odd number of inversions arranged in a loop, wherein the oscillator is variable based on the temperature, voltage and process parameters in the environment

Claim語句: separate DMA CPU
解釋:a central processing unit that accesses memory and that fetches and executes instructions directly and separately of the main central processing unit

Claim語句: supply the multiple sequential instructions
解釋:provide the multiple sequential instructions in parallel (as opposed to one-by-one) to said central processing unit integrated circuit during a single memory cycle


09-13宏達電、宏碁在美ITC初判不侵權Technology Properties Limited

原告: TPL

2013年9月6日Technology Properties Limited(TPL) v. HTC等13家公司案[337-TA-853],美國國際貿易委員會(ITC)初判ID認為宏達電與其他12家被告企業並未侵犯TPL專利US5,809,336 Claim 1,6,7,9-11,13-16。

TPL在去年(2012)7月向ITC遞狀控告包括宏碁、亞馬遜、三星、華為、中興、宏達電、LG、任天堂等在內共12家企業,侵犯其微處理器相關專利US5,809,336「具備變速系統時鐘之高效能微處理器」,是TPL手上摩爾微處理器專利組合的一部分。

TPL是一家專利授權公司,慣以專利組合向知名企業開刀,也因此該專利經歷六次專利再審的挑戰才受到美國專利商標局確定專利有效性。同時,已授權多家公司使用:福特、索尼、東芝、惠普、富士通、飛利浦、華碩等。

另外,諾基亞控告宏達電侵權案,即將在9月23日公布初判結果,對宏達電是必須過的大難關。


12-02專利授權公司 TPL 已破產,ITC判TPL專利敗訴

原告: TPL

TPL公司在2013年3月21日向美國加州聯邦法院已提交一份自願申請破產保護(CH.11),列出了1億美元債務,其中包括近150萬美元的債務給Kilpatrick Townsend & Stockton LLP事務所的前身。據報導TPL擁有知識產權資產有50萬至100萬美元,而負債卻高達5000萬美元至1億美元,債權人估計約有100至199人。

2013年9月6日Technology Properties Limited(TPL) v. HTC等13家公司案[337-TA-853],美國國際貿易委員會(ITC)初判ID認為宏達電與其他12家被告企業並未侵犯TPL專利US5,809,336 Claim 1,6,7,9-11,13-16。

2013年11月29日美國國際貿易委員會(ITC)複審ALJ法官初判ID後,確認本案TPL敗訴,MMP licensing program部分,被告皆不侵權成立。如下:
Acer Inc.;Acer America Corporation
Amazon.com, Inc.
Barnes & Noble, Inc.
Garmin Ltd.;Garmin International, Inc.;Garmin USA, Inc.
HTC Corporation;HTC America
Huawei Technolofies Co., Ltd.;Huawei North America
Kyocera Corporation;Kyocera Communications, Inc.
LG Electronics, Inc.;LG Electronics U.S.A., Inc.
Nintendo Co., Ltd.;Nintendo of America, Inc.
Novatel Wireless, Inc.
Samsung Electronics Co., Ltd.;Samsung Electronics America, Inc.
Sierra Wireless, Inc.;Sierra Wireless America, Inc.
ZTE Corporation;ZTE (USA) Inc.

另外,據說CoreFlash licensing program 部分,目前市場主流只剩下 SD 記憶卡,所以現在 NB 廠商針對“一槽多卡”多已經迴避設計改成 “一槽一卡”,避開TPL專利陷阱成功。


2014

02-21美國ITC終判宏達電未侵害Technology Properties Ltd.專利權

原告: TPL

2014年2月19日美國國際貿易委員會(ITC)最終判決(FD)維持先前行政法官判定,宏達電未侵害Technology Properties Ltd.專利權。

先前,行政法官2013年9月6日初判,Technology Properties Limited(TPL) v. HTC等13家公司案[337-TA-853],美國國際貿易委員會(ITC)初判ID認為宏達電與其他12家被告企業並未侵犯TPL專利US5,809,336 Claim 1,6,7,9-11,13-16。

事實上,TPL已宣布破產。



 
歡迎來粉絲團按讚!
--------------------------------------------------------------------------------------------------------------------------------------------
【聲明】
1.科技產業資訊室刊載此文不代表同意其說法或描述,僅為提供更多訊息,也不構成任何投資建議。
2.著作權所有,非經本網站書面授權同意不得將本文以任何形式修改、複製、儲存、傳播或轉載,本中心保留一切法律追訴權利。