2012年12月21日,以色列公司AeroScout, Ltd.、及其美國母公司AeroScout, Inc.(下稱AeroScout),向美國德拉瓦州聯邦地院提起專利侵權告訴,控告同樣提供即時定位系統服務的競爭對手公司Centrak Inc.(下稱Centrak),其在所提供之即時定位系統服務中所使用之無線射頻識別(Radio Frequency Identification, RFID)標籤產品,包括用於資產追蹤系統、醫療照護系統中病患監控追蹤等,侵犯AeroScout所擁有之兩項與在無線區域網路(WLAN)中進行定位與狀態感測之技術有關的專利權利。
本案兩項系爭專利之共同發明人均包括AeroScout的技術長(CTO)Daniel Aljadeff,內容如下:
- 美國專利編號US 6,963,289,名稱為「無線區域網路(WLAN)頻道無線射頻識別(RFID)標籤系統與其操作方法(Wireless local area network (WLAN) channel radio-frequency identification (RFID) tag system and method therefor)」,於2005年11月8日核發,
- 美國專利編號US 7,522,049,名稱為「用於狀態感測與位置搜尋的無線區域網路(WLAN)系統與方法(Wireless local area network (WLAN) method and system for presence detection and location finding)」,於2009年4月21日核發。
AeroScout是一家以色列公司,以整合資產可視性(Unified Asset Visibility)解決方案、與即時定位系統(Real-Time Location System, RTLS)等相關技術見長。於2012年6月為Stanley Healthcare Solutions所併購;Stanley Healthcare Solutions是美國最大家居五金與電動工具製造商史丹利百得公司(Stanley Black & Decker, Inc.)旗下子公司。(620字;表2)
表一、請求項解析
| US 6,963,289請求項1 |
US 7,522,049請求項1 |
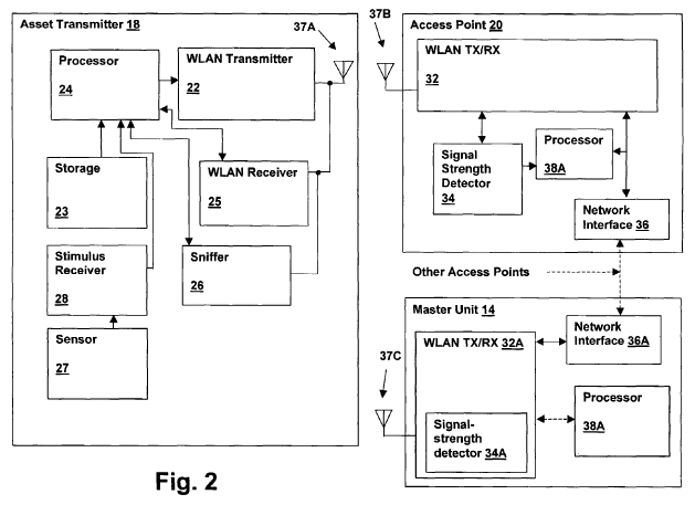
1. A method for determining the location of an identification tag (Fig.2 - 2) by a wireless local area network, said method comprising:
一項用來透過無線區域網路確定一識別標籤之位置的方法,前述方法包括: |
1. A presence detection system incorporated within a wireless local area network (WLAN), comprising:
一項整合於一無線區域網路(WLAN)中的狀態感測系統,包括: |
transmitting a signal from said identification tag on a channel of said wireless local area network, said signal bearing an identification number of said identification tag;
從前述識別標籤在前述無線區域網路之一個頻道上傳送一訊號,前述訊號夾帶有前述識別標籤的識別號碼, |
one or more WLAN access points (Fig.2 - 20) each including a received signal strength measurement circuit (Fig.2 - 34) and operating according to a revision of the IEEE 802.11 specification;
一或多個WLAN存取點,每個存取點包括一接收訊號強度測量電路並依據IEEE 802.11標準說明書修訂版來運作, |
receiving said signal from said identification tag at multiple location units (Fig.2 - 20) within said wireless local area network;
在前述無線區域網路中多個位置單元上接收來自前述識別標籤之前述訊號, |
an asset transmitter (Fig.2 - 18) for transmitting a broadcast/multicast presence signal, wherein said presence signal is transmitted on one or more channels of said WLAN, to which no receiving unit in the WLAN can make a response and for which no association with another unit of said WLAN is required, and
一資產傳送器,用來傳送一廣播∕多點傳送之狀態訊號,前述狀態訊號在一或多個前述WLAN頻道上傳送,而在WLAN中沒有接收單元會對前述訊號做出回應,且前述訊號無須與WLAN中其他單元產生關聯, |
in response to said receiving, measuring a characteristic of said received signal at said multiple location units;
回應前述接收動作,在前述多個位置單元上測量前述被接收訊號之特性, |
wherein said asset transmitter comprises a sniffer circuit (Fig.2 - 26) for detecting other WLAN transmissions and wherein said asset transmitter transmits said presence signal only when said sniffer circuit detects that said other transmissions are absent; and
前述資產傳送器包括一嗅探電路,其用來偵測其他WLAN上的傳送,而前述資產傳送器僅在前述嗅探電路未偵測其他傳送存在時、方傳送前述狀態訊號, |
sending information corresponding to said measured characteristic from each of said corresponding multiple location units to a master unit (Fig.2 - 30); and
從每個前述相應之多個位置單元傳送對應於前述被測量之特性的資訊到一主單元上, |
an evaluator (Fig.2 - 14) coupled to said one or more WLAN nodes for receiving signal strength values from each received signal strength measurement circuit within said one or more WLAN nodes and determining whether or not said asset transmitter is present in the vicinity of said one or more WLAN nodes in conformity with said signal strength values,
一評估器,其耦接於前述一或多個WLAN節點、用來從前述一或多個WLAN節點中每個接收訊號強度測量電路接收訊號強度值,並依據前述訊號強度值決定是否前述資產傳送器是否存在於前述一或多個WLAN節點附近, |
determining, within said master unit, the location of said identification tag by using location information for said multiple location units in conjunction with said sent information to determine said location of said identification tag;
在前述主單元中,藉由使用前述多個位置單元之位置資訊、結合前述被傳送資訊,來確定前述識別標籤之位置, |
whereby said presence signals can be detected by said access points without association of said asset transmitter with said WLAN while maintaining normal operation with other associated units of said WLAN.
前述狀態訊號可以為前述存取點所偵測,在前述存取點無須與前述資產傳送器藉由前述WLAN產生關聯、且前述存取點可以與其他前述WLAN上有關聯之單元保持常態運作的情況下。 |
sniffing said channel via a sniffer circuit (Fig.2 - 16) to determine whether or not said channel is clear;
透過一嗅探電路嗅探前述頻道以確定其是否淨空, |
|
in response to said sniffing determining that said channel is clear, performing said transmitting at said predetermined interval; and
回應前述嗅探動作,若確定前述頻道為淨空,則在前述預設的時間間隔進行前述傳送, |
in response to said sniffing determining that said channel is not clear, transmitting said signal at a subsequent time when said channel is clear.
回應前述嗅探動作,若確定前述頻道為不淨空,則在前述頻道為淨空後的後續時間中傳送前述訊號。 |
|
|
Source: 科技政策研究與資訊中心—科技產業資訊室整理,2013/01
表二、專利訴訟案件基本資料:AeroScout控告Centrak
| 訴訟名稱 |
AeroScout Ltd. et al v. Centrak Inc. |
| 提告日期 |
2012年12月21日 |
| 原告 |
AeroScout Ltd.
AeroScout Inc. |
| 被告 |
Centrak Inc. |
| 案號 |
1:12-cv-01747-SLR |
| 訴訟法院 |
the U.S. District Court for the District of Delaware |
| 系爭專利 |
US 6,963,289
US 7,522,049 |
| 訴狀下載 |
 |
Source: 科技政策研究與資訊中心—科技產業資訊室整理,2013/01
--------------------------------------------------------------------------------------------------------------------------------------------