︿
Top

LED照明侵權Cree控告Cooper

瀏覽次數:1251| 歡迎推文: facebook twitter wechat Linked

科技產業資訊室 (iKnow) - SYL 發表於 2013年2月27日
facebook twitter wechat twitter

2013年2月19日, 美國LED大廠Cree, Inc.(下稱Cree),向美國威斯康辛州東區聯邦地院提起專利侵權告訴,控告生產販售LED照明設備的Cooper Lighting, LLC(下稱Cooper)公司製造販售的多項LED照明設備產品,特別是使用Cooper目前申請專利中之AccuLED Optics?導光系統的區域照明、路燈等LED照明產品,侵犯Cree所擁有之美國專利編號US 8,282,239(下稱’239專利)的專利權利,而其中一項名為Ventus LED的區域/街道照明設備產品,則另侵犯了Cree所擁有之美國專利US 8,070,306 (下稱’306專利)。

本案兩項系爭專利之原始權利人均為設立於美國威斯康辛州的照明設備公司Ruud Lighting, Inc.(下稱Ruud),內容如下:

  • ’239專利之名稱為「具備受保護之反射遮蔽的導光裝置以及使用前述裝置的照明固定設備(Light-directing apparatus with protected reflector-shield and lighting fixture utilizing same)」,2012年10月9日核發,為US 7,891,835(下稱’835專利)在申請時(申請號為12/173,149)的連續案;
  • ’306專利之名稱為「LED照明固定設備(LED lighting fixture)」,於2011年12月6日核發,其為US 7,686,469(下稱’469專利)在申請時(申請號為11/860,887)的連續案,以及申請號為11/541,908(後被撤回)之申請案的部分連續案。

在2011年8月Cree藉以5.25億美元收購取得Ruud及其專利智財。Ruud之前已控告過Cooper之LED照明設備產品侵犯其專利權,根據本案訴狀指出,本案系爭專利之相關專利 ‘835與’469的專利權利,Ruud在其於2010年4月向本案相同法院控告Cooper侵權的訴訟案件(案號為2:10-cv-00280)中已有所主張。而Ruud亦在2012年5月向本案相同法院提起另一起專利侵權告訴,控告Cooper侵犯其所擁有之US 7,952,262專利權利(案號為2:12-cv-00515)。

表一、Cree vs. Cooper

提告日期 訴訟案 系爭專利
4/2/2010 Ruud Lighting Inc v. Cooper Lighting Llc
Case No: 2:10-cv-00280-CNC
US7686469
US7891835
5/23/2012 Ruud Lighting Inc v. Cooper Lighting Llc
Case No: 2:12-cv-00515-CNC
US7952262
9/7/2012 Cooper Lighting, Llc v. Cree, Inc. Et Al
Case No: 1:12-cv-03149-CAP
US8210722
2/19/2013 Cree Inc v. Cooper Lighting Llc
Case No: 2:13-cv-00169-NJ
US8070306
US8282239

不過,Cooper亦非只是被動挨告,其於2012年9月7日亦向美國喬治亞洲北區聯邦地院提起專利侵權告訴(案號為1:12-cv-03149),控告Cree與Ruud侵犯其所擁有之專利US 8,210,722。(848字;表2)

表一、請求項解析

US 8,282,239 請求項1 US 8,070,306 請求項1
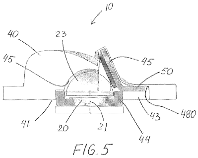
1. A light-directing apparatus (Fig.5 - 10) for off-axial preferential-side distribution of light from a light emitter (Fig.5 - 20) having an emitter axis (Fig.5 - 21), comprising:
一項導光裝置,用於離軸而偏向特定邊地散布、來自一具備放射軸之光源的光線,包括
1. An LED lighting fixture (Fig.1 – 10A) comprising:
一項LED照明固定設備,包括
a lens member (Fig.5 - 40) positioned over and fully enclosing the light emitter and having:
一鏡片構件,覆蓋並完全包覆前述光源,其具備
a housing (Fig.1 - 12) including first and second border structures; and
一外殼,包括第一與第二邊框結構
an inner surface (Fig.5 - 45) defining an emitter void and a shield-receiving void which is on a non-preferential side of the lens member, the shield-receiving void being different in configuration than the emitter void and including a shield-contacting inner-surface portion;
一內層表面,其界定出一光源放射之空隙與一接收遮蔽之空隙,接收遮蔽之空隙位於前述鏡片構件之非偏向邊,且與光源放射之空隙有不同之配置,並包括一接觸遮蔽之內層表面部分
an LED assembly (Fig.1 - 18) secured with respect to the housing to permit air/water-flow over the LED assembly, the LED assembly including
一LED組件,其透過前述外殼被固定,進而讓氣/水流可以通過前述LED組件,前述LED組件包括
and an outer surface;
一外層表面
(a) an LED heat sink that has two heat-sink ends, an LED-module-engaging surface and a heat-transfer surface, one heat-sink end being at the first border structure and the other heat-sink end being at the second border structure, the housing and the heat sink defining an air gap (Fig.1 - 14) permitting air/water-flow to and from the heat sink, and
(a)一LED散熱片,其具備兩個散熱片尾端、一銜接LED模組之表面以及一熱傳導表面,其中一散熱片尾端位於第一邊框結構而另一散熱片尾端則位於第二邊框結構,前述外殼與前述散熱片隔出一空氣通道讓氣/水流可以流通進出於散熱片
and a shield member (Fig.5 - 50) in the shield-receiving void in position in the path of light emitted toward the non-preferential side, the shield member having a back surface configured to engage the shield-contacting inner-surface portion.
一位於接收遮蔽空隙中之遮蔽構件,其位置在光線放射向非偏向邊的路徑上,前述遮蔽構件具備一背面,其被配置來銜接前述接觸遮蔽之內層表面部分
(b) an LED-array module (Fig.1 - 19) mounted at the LED-module-engaging surface.
(b)一LED陣列模組,其架設於前述銜接LED模組之表面上
請求項2
pclass_13_A074b.gif
2. The light-directing apparatus of claim 1 wherein the light emitter comprises an LED.
請求項1所描述之導光裝置,其中光源由一LED所構成
pclass_13_A074a.gif

Source: 科技政策研究與資訊中心—科技產業資訊室整理,2013/02

表二、專利訴訟案件基本資料:Cree Inc. v. Cooper Lighting LLC

訴訟名稱 Cree Inc. v. Cooper Lighting LLC
提告日期 2013年2月19日
原告 Cree Inc.
被告 Cooper Lighting LLC
案號 2:13-cv-00169-NJ
訴訟法院 the U.S. District Court for the Eastern District of Wisconsin
系爭專利 US 8,282,239
US 8,070,306
系爭產品
(舉隅)
Vision Site LED (使用被控侵權的Accu LED Optics系統),
http://www.cooperindustries.com/content/public/en/lighting/products/area_site_lighting/_181779.html
(最後瀏覽日:2013/02/26);
Talon LED (使用被控侵權的Accu LED Optics系統),
http://www.cooperindustries.com/content/public/en/lighting/products/area_site_lighting/_182932.html
(最後瀏覽日:2013/02/26);
Ventus LED (使用被控侵權的Accu LED Optics系統),
http://www.cooperindustries.com/content/public/en/lighting/products/area_site_lighting/_125664.html
(最後瀏覽日:2013/02/26)
訴狀下載 download.gif

Source: 科技政策研究與資訊中心—科技產業資訊室整理,2013/02

 


 
歡迎來粉絲團按讚!
--------------------------------------------------------------------------------------------------------------------------------------------
【聲明】
1.科技產業資訊室刊載此文不代表同意其說法或描述,僅為提供更多訊息,也不構成任何投資建議。
2.著作權所有,非經本網站書面授權同意不得將本文以任何形式修改、複製、儲存、傳播或轉載,本中心保留一切法律追訴權利。