2013年8月5日,總部設立於美國伊利諾州的Voltstar Technologies, Inc. (前身為Horizon Technologies, Inc.),下稱“Voltstar”,於美國伊利諾州東區地方法院,指控總部位於美國華盛頓的Amazon.com Inc.(亞馬遜;“Amazon”)之Kindle全系列電子書的充電器配件,侵犯其專利權,要求合理的權利金、損害賠償以及訴訟律師費之補償等。
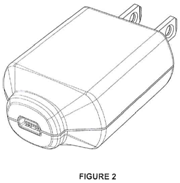
本案系爭專利共1項,為美國專利編號D587192(設計專利),名稱電子充電器(Electrical charger),係於2007年11月28日申請,2009年2月24日核發,目前專利權人為Voltstar Technologies, Inc.。
本案原告Voltstar Technologies, Inc.,總部位於伊利諾州,成立於2001年,主要產品為手機及行動裝置充電器、經查美國專利轉讓資訊,截至目前共擁有8項專利,其中5項為發明專利,3項為設計專利,亦有4項仍在申請專的專利。(478字;表2)
表一、系爭專利被控侵權物對照表
表二、專利訴訟案件基本資料:Voltstar Technologies, Inc. v. Amazon.Com, Inc.
| 訴訟名稱 |
Voltstar Technologies, Inc. f/k/a Horizon Technologies, Inc. v. Amazon.Com, Inc. |
| 提告日期 |
2013年8月5日 |
| 原告 |
Voltstar Technologies, Inc. f/k/a Horizon Technologies, Inc. |
| 被告 |
Amazon.Com, Inc. |
| 案號 |
1:13-cv-05570 |
| 訴訟法院 |
United States District Court for the Northern District of Illinois |
| 系爭專利 |
D587192 |
| 系爭產品 |
Kindle全系列電子書的充電器 |
| 訴狀下載 |
 |
Source: 科技政策研究與資訊中心—科技產業資訊室整理,2013/08/12
--------------------------------------------------------------------------------------------------------------------------------------------